СИСТЕМА ОБРАБОТКИ И ПЕРЕДАЧИ ИНФОРМАЦИИ (для моделей с приемопередатчиком системы обработки и передачи информации кроме моделей с системой G-BOOK), диагностический DTC:B1583

Код DTC Наименование DTC
B1583 Сигнал GPS не получен

ОПИСАНИЕ

Этот код DTC регистрируется, когда сигналы спутника GNSS не принимаются на протяжении 30 км.

№ DTC

Неисправность

Условие обнаружения DTC

Неисправный участок

B1583

Сигнал GPS не получен

Сигналы GNSS не принимаются на протяжении 30 км.

Для моделей с системой противообледенителя ветрового стекла с подогревом:

  • Приемопередатчик системы обработки и передачи информации

  • Наружная антенна в сборе

  • Антенный разветвитель

  • Антенный шнур № 1 в сборе

  • Антенный шнур № 2 в сборе

  • Антенный шнур № 4 в сборе

Для моделей без системы противообледенителя ветрового стекла с подогревом:

  • Приемопередатчик системы обработки и передачи информации

  • Наружная антенна в сборе

  • Антенный шнур № 1 в сборе

  • Антенный шнур № 2 в сборе

  • Антенный шнур № 4 в сборе

СХЕМА ЭЛЕКТРИЧЕСКИХ СОЕДИНЕНИЙ

E384840E01
E355589E03

ПРЕДОСТЕРЕЖЕНИЕ / ПРИМЕЧАНИЕ / УКАЗАНИЕ

Note:
  • В зависимости от замененных деталей или операций, которые были выполнены при проверке или обслуживании автомобиля, может потребоваться инициализация, регистрация или калибровка. См. раздел "Регистрация для системы обработки и передачи информации".

    Нажмите здесьClick here

  • Приемопередатчик системы обработки и передачи информации следует заменять исключительно новым блоком.

ПОРЯДОК ВЫПОЛНЕНИЯ

  1. ПЕРЕМЕСТИТЕ АВТОМОБИЛЬ

    1. Если автомобиль находится вне зоны предоставления услуг связи, переместите его в зону обслуживания, подождите некоторое время и выполните операцию снова.

    Result

    Перейти к

    СЛЕДУЮЩЕЕ -

    СЛЕДУЮЩЕЕ -
  2. ПРОВЕРЬТЕ DTC

    1. Выключите питание.

    2. Подключите GTS к DLC3.

    3. Включите питание (IG) и подождите 20 с.

    4. Включите GTS.

    5. Проверьте коды DTC и убедитесь, что они не выводятся.

      Нажмите здесьClick here

      Body Electrical > Telematics > Trouble Codes

      OK

      Коды DTC не выводятся.

    Результат

    Перейти к

    OK

    НЕ СООТВ.

    OK

    ВЫПОЛНИТЕ ПРОВЕРКУ С ИМИТАЦИЕЙ УСЛОВИЙ ВОЗНИКНОВЕНИЯ НЕИСПРАВНОСТИ

    Нажмите здесьClick here

    NG
  3. ПРОВЕРЬТЕ НАЛИЧИЕ ДОПОЛНИТЕЛЬНЫХ УСТРОЙСТВ

    1. Проверьте, установлены ли дополнительные устройства - такие, как солнцезащитная пленка или телефонная антенна, которые могут отрицательно повлиять на прием.

      Result

      Result

      Перейти К

      Дополнительные детали или устройства не установлены

      A

      Дополнительные детали или устройства установлены

      Б

      Note:

      Не удаляйте дополнительные устройства без разрешения клиента.

    B

    СНИМИТЕ ДОПОЛНИТЕЛЬНЫЕ УСТРОЙСТВА И ВЫПОЛНИТЕ ПОВТОРНУЮ ПРОВЕРКУ (СМ. ПРИМЕЧАНИЕ ВЫШЕ)

    A
  4. ПРОВЕРЬТЕ DTC

    1. Удалите коды DTC.

      Нажмите здесьClick here

      Body Electrical > Navigation System > Clear DTCs

    2. Проверьте наличие кодов DTC и убедитесь, что зарегистрированный DTC больше не выводится.

      Body Electrical > Navigation System > Trouble Codes

    Result

    Result

    Перейдите к

    Коды DTC не выводятся.

    A

    Выводится DTC B1583.

    Б

    А

    КОНЕЦ

    B
  5. ПРОВЕРЬТЕ ТИП АВТОМОБИЛЯ

    1. Проверьте тип автомобиля.

    Result

    Result

    Следующий шаг

    для моделей с системой противообледенителя ветрового стекла с подогревом

    A

    для моделей без системы противообледенителя ветрового стекла с подогревом

    B

    B

    ПРОВЕРЬТЕ НЕТ. 4 АНТЕННЫЙ ШНУР В СБОРЕClick here

    A
  6. ПРОВЕРЬТЕ ШНУР АНТЕННЫ № 4 В СБОРЕ

    1. E307158C04

      *a

      Вид спереди разъема со стороны жгута проводов:

      (к наружной антенне)

      *b

      Вид спереди разъема со стороны жгута проводов:

      (к антенному шнуру № 2 в сборе)

      Отсоедините разъем антенны от антенны от наружной антенны в сборе

      Нажмите здесьClick hereClick here

    2. Отсоедините разъем антенны от шнура антенны № 2 в сборе.

    3. Измерьте сопротивление в соответствии со значениями, приведенными в таблице ниже.

      Номинальное сопротивление

      Подключение диагностического прибора

      Условие

      Заданные условия

      A-2 - B-2

      Всегда

      Менее 1 Ом

      A-2 или B-2 - масса

      Всегда

      10 кОм или более

      A-2a - B-2a

      Всегда

      Менее 1 Ом

      A-2a или B-2a - масса

      Всегда

      10 кОм или более

    Результат

    Перейти к

    OK

    НЕ СООТВ.

    НЕ СООТВ.

    ЗАМЕНИТЕ АНТЕННЫЙ ШНУР № 4 В СБОРЕ

    Нажмите здесьClick hereClick here

    СООТВ
  7. ПРОВЕРЬТЕ ШНУР АНТЕННЫ № 2 В СБОРЕ

    1. E307159C04

      *a

      Вид спереди разъема со стороны жгута проводов:

      (к антенному шнуру № 4 в сборе)

      *b

      Вид спереди разъема со стороны жгута проводов:

      (к антенному шнуру № 1 в сборе)

      Отсоедините разъем антенны от шнура антенны № 4 в сборе.

    2. Отсоедините разъем антенны от шнура антенны № 1 в сборе.

    3. Измерьте сопротивление в соответствии со значениями, приведенными в таблице ниже.

      Номинальное сопротивление

      Подключение диагностического прибора

      Условие

      Заданные условия

      B-2 - C-2

      Всегда

      Менее 1 Ом

      B-2 или C-2 - масса

      Всегда

      10 кОм или более

      B-2a - C-2a

      Всегда

      Менее 1 Ом

      B-2a или C-2a - масса

      Всегда

      10 кОм или более

    Результат

    Перейти к

    OK

    НЕ СООТВ.

    НЕ СООТВ.

    ЗАМЕНИТЕ ШНУР АНТЕННЫ № 2

    Нажмите здесьClick hereClick here

    СООТВ
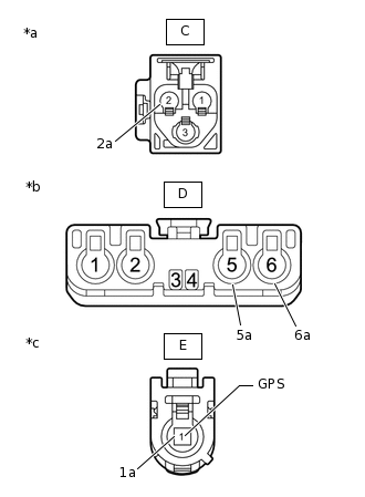
  8. ПРОВЕРЬТЕ ШНУР АНТЕННЫ № 1 В СБОРЕ

    1. E384841C01

      *a

      Вид спереди разъема со стороны жгута проводов:

      (к антенному шнуру № 2 в сборе)

      *b

      Вид спереди разъема со стороны жгута проводов:

      (к антенному разветвителю)

      *c

      Вид спереди разъема со стороны жгута проводов:

      (к приемопередатчику системы обработки и передачи информации)

      Отсоедините разъем антенны от шнура антенны № 2 в сборе.

    2. Отсоедините разъем антенны от антенного разветвителя.

    3. Отсоедините разъем антенны от приемопередатчика системы обработки и передачи информации.

    4. Измерьте сопротивление в соответствии со значениями, приведенными в таблице.

      Номинальное сопротивление

      Подключение диагностического прибора

      Условие

      Заданные условия

      C-2 - D-6

      Всегда

      Менее 1 Ом

      C-2 или D-6 - масса

      Всегда

      10 кОм или более

      C-2a - D-6a

      Всегда

      Менее 1 Ом

      C-2a или D-6a - масса

      Всегда

      10 кОм или более

      D-5 - E-1 (GPS)

      Всегда

      Менее 1 Ом

      D-5 или E-1 (GPS) - масса

      Всегда

      10 кОм или более

      D-5a - E-1a

      Всегда

      Менее 1 Ом

      D-5a или E-1a - масса

      Всегда

      10 кОм или более

    Результат

    Перейти к

    OK

    НЕ СООТВ.

    НЕ СООТВ.

    ЗАМЕНИТЕ ШНУР АНТЕННЫ № 1

    Нажмите здесьClick hereClick here

    СООТВ
  9. ПРОВЕРЬТЕ АНТЕННЫЙ РАЗВЕТВИТЕЛЬ

    1. E241596C21

      *a

      Устройство с неподсоединенным жгутом проводов

      (антенный разветвитель)

      Снимите антенный разветвитель.

      Нажмите здесьClick here

    2. Измерьте сопротивление в соответствии со значениями, приведенными в таблице ниже.

      Номинальное сопротивление

      Подключение диагностического прибора

      Условие

      Заданные условия

      5 - 6

      Всегда

      Менее 1 Ом

      5a - 6a

      Всегда

      Менее 1 Ом

      5 - 5a

      Всегда

      10 кОм или более

      6 - 6a

      Всегда

      10 кОм или более

    Результат

    Перейти к

    OK

    НЕ СООТВ.

    НЕ СООТВ.

    ЗАМЕНИТЕ АНТЕННЫЙ РАЗВЕТВИТЕЛЬ

    Нажмите здесьClick here

    СООТВ
  10. ПРОВЕРЬТЕ НАРУЖНУЮ АНТЕННУ В СБОРЕ

    1. Замените наружную антенну в сборе новой или заведомо исправной.

      Нажмите здесьClick here

    2. Удалите коды DTC.

      Нажмите здесьClick here

      Body Electrical > Telematics > Clear DTCs

    3. Повторно проверьте коды DTC и убедитесь, что они не выводятся.

      Body Electrical > Telematics > Trouble Codes

      OK

      Коды DTC не выводятся.

    Результат

    Перейти к

    OK

    НЕ СООТВ.

    OK

    КОНЕЦ (НАРУЖНАЯ АНТЕННА НЕИСПРАВНА)

    NG
  11. ЗАМЕНИТЕ ПРИЕМОПЕРЕДАТЧИК СИСТЕМЫ ОБРАБОТКИ И ПЕРЕДАЧИ ИНФОРМАЦИИ

    1. Замените приемопередатчик системы обработки и передачи информации новым.

      Нажмите здесьClick here

    Результат

    Перейти к

    СЛЕДУЮЩЕЕ -

    СЛЕДУЮЩЕЕ -

    ВЫПОЛНИТЕ РЕГИСТРАЦИЮ

    Нажмите здесьClick here

  12. ПРОВЕРЬТЕ ШНУР АНТЕННЫ № 4 В СБОРЕ

    1. E307158C04

      *a

      Вид спереди разъема со стороны жгута проводов:

      (к наружной антенне)

      *b

      Вид спереди разъема со стороны жгута проводов:

      (к антенному шнуру № 2 в сборе)

      Отсоедините разъем антенны от антенны от наружной антенны в сборе

      Нажмите здесьClick hereClick here

    2. Отсоедините разъем антенны от шнура антенны № 2 в сборе.

    3. Измерьте сопротивление в соответствии со значениями, приведенными в таблице ниже.

      Номинальное сопротивление

      Подключение диагностического прибора

      Условие

      Заданные условия

      A-2 - B-2

      Всегда

      Менее 1 Ом

      A-2 или B-2 - масса

      Всегда

      10 кОм или более

      A-2a - B-2a

      Всегда

      Менее 1 Ом

      A-2a или B-2a - масса

      Всегда

      10 кОм или более

    Результат

    Перейти к

    OK

    НЕ СООТВ.

    НЕ СООТВ.

    ЗАМЕНИТЕ АНТЕННЫЙ ШНУР № 4 В СБОРЕ

    Нажмите здесьClick hereClick here

    СООТВ
  13. ПРОВЕРЬТЕ ШНУР АНТЕННЫ № 2 В СБОРЕ

    1. E307159C04

      *a

      Вид спереди разъема со стороны жгута проводов:

      (к антенному шнуру № 4 в сборе)

      *b

      Вид спереди разъема со стороны жгута проводов:

      (к антенному шнуру № 1 в сборе)

      Отсоедините разъем антенны от шнура антенны № 4 в сборе.

    2. Отсоедините разъем антенны от шнура антенны № 1 в сборе.

    3. Измерьте сопротивление в соответствии со значениями, приведенными в таблице ниже.

      Номинальное сопротивление

      Подключение диагностического прибора

      Условие

      Заданные условия

      B-2 - C-2

      Всегда

      Менее 1 Ом

      B-2 или C-2 - масса

      Всегда

      10 кОм или более

      B-2a - C-2a

      Всегда

      Менее 1 Ом

      B-2a или C-2a - масса

      Всегда

      10 кОм или более

    Результат

    Перейти к

    OK

    НЕ СООТВ.

    НЕ СООТВ.

    ЗАМЕНИТЕ ШНУР АНТЕННЫ № 2

    Нажмите здесьClick hereClick here

    СООТВ
  14. ПРОВЕРЬТЕ ШНУР АНТЕННЫ № 1 В СБОРЕ

    1. E307360C02

      *a

      Вид спереди разъема со стороны жгута проводов:

      (к антенному шнуру № 2 в сборе)

      *b

      Вид спереди разъема со стороны жгута проводов:

      (к приемопередатчику системы обработки и передачи информации)

      Отсоедините разъем антенны от шнура антенны № 2 в сборе.

    2. Отсоедините разъем антенны от приемопередатчика системы обработки и передачи информации.

    3. Измерьте сопротивление в соответствии со значениями, приведенными в таблице.

      Номинальное сопротивление

      Подключение диагностического прибора

      Условие

      Заданные условия

      C-2 - D-1 (GPS)

      Всегда

      Менее 1 Ом

      C-2 или D-1 (GPS) - масса

      Всегда

      10 кОм или более

      C-2a - D-1a

      Всегда

      Менее 1 Ом

      C-2a или D-1a - масса

      Всегда

      10 кОм или более

    Результат

    Перейти к

    OK

    НЕ СООТВ.

    СООТВ

    ПРОВЕРЬТЕ НАРУЖНУЮ АНТЕННУ В СБОРЕClick here

    НЕ СООТВ.

    ЗАМЕНИТЕ ШНУР АНТЕННЫ № 1

    Нажмите здесьClick hereClick here