СИСТЕМА ИЗМЕРИТЕЛЬНЫХ ПРИБОРОВ И ИНДИКАТОРОВ Неисправен переключатель Odo / Trip

Код DTC Наименование DTC
Неисправен переключатель Odo / Trip

ОПИСАНИЕ

Показание ODO/TRIP щитка приборов переключается при каждом нажатии переключателя TRIP.

Tip:

Дополнительная информация о переключении между экранами содержится в руководстве пользователя.

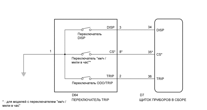
СХЕМА ЭЛЕКТРИЧЕСКИХ СОЕДИНЕНИЙ

E249058E03

ПОРЯДОК ВЫПОЛНЕНИЯ

  1. СНИМИТЕ ПОКАЗАНИЯ GTS (MULTI DISPLAY SELECT SWITCH, ODO/TRIP CHANGE SW)

    1. Подключите GTS к DLC3.

    2. Установите замок зажигания в положение ON (ВКЛ).

    3. Включите GTS.

    4. Войдите в следующие меню: Body Electrical / Combination Meter / Data List.

    5. Снимите показания параметров в режиме Data List, отображаемые на дисплее диагностического прибора.

      Table 1. Щиток приборов

      Информация на дисплее прибора

      Измеряемая величина / диапазон измерения

      Нормальное состояние

      Замечание по диагностике

      ODO / TRIP Change SW

      Состояние переключателя ODO/TRIP /ON (ВКЛ) или OFF (ВЫКЛ)

      OFF (ВЫКЛ): переключатель ODO/TRIP не нажат

      -

      ON (ВКЛ): переключатель ODO/TRIP нажат

      Multi Display Select Switch

      Переключатель мультиинформационного дисплея / OFF (ВЫКЛ) или ON (ВКЛ)

      OFF (ВЫКЛ): Переключатель DISP не нажат

      -

      ON (ВКЛ): Переключатель DISP нажат

      OK

      Значение, отображаемое на экране GTS, изменяется в зависимости от фактического положения переключателя ODO/TRIP и переключателя мультиинформационного дисплея.

    ЗАМЕНИТЕ ЩИТОК ПРИБОРОВ В СБОРЕ

    (см.Click hereстр.)

  2. ПРОВЕРЬТЕ ПЕРЕКЛЮЧАТЕЛЬ TRIP

    1. E249059E02

      Снимите переключатель TRIP (см. стр.Click here).

    2. Измерьте сопротивление в соответствии со значениями, приведенными в таблице ниже.

      Номинальное сопротивление

      Подключение диагностического прибора

      Положение переключателя

      Заданные условия

      2 (TRIP) - 1

      Переключатель ODO/TRIP включен

      (нажат)

      Менее 1 Ом

      2 (TRIP) - 1

      Переключатель ODO/TRIP выключен

      (не нажат)

      10 кОм или более

      3 (DISP) - 1

      Переключатель DISP в положении ON (ВКЛ)

      (нажат)

      Менее 1 Ом

      3 (DISP) - 1

      Переключатель DISP выключен

      (не нажат)

      10 кОм или более

      8 (CS) - 1*

      Переключатель "км/час / мили в час" включен

      (нажат)

      Менее 1 Ом

      8 (CS) - 1*

      Переключатель "км/час / мили в час" выключен

      (не нажат)

      10 кОм или более

    * : для моделей с переключателем "км/ч / мили в час"

    Table 2. Обозначения на рисунке

    *a

    Устройство с отсоединенным жгутом проводов

    (переключатель TRIP)

    ЗАМЕНИТЕ ПЕРЕКЛЮЧАТЕЛЬ TRIP

    (см.Click hereстр.)

  3. ПРОВЕРЬТЕ ЖГУТ ПРОВОДОВ И РАЗЪЕМ (ЩИТОК ПРИБОРОВ - ПЕРЕКЛЮЧАТЕЛЬ TRIP И МАССА)

    1. Отсоедините разъем D7 щитка приборов.

    2. Отсоедините разъем D64 переключателя счетчика пути (TRIP).

    3. Измерьте сопротивление в соответствии со значениями, приведенными в таблице ниже.

      Номинальное сопротивление (при проверке на обрыв)

      Подключение диагностического прибора

      Условие

      Заданные условия

      D7-34 (DISP) - D64-3 (DISP)

      Всегда

      Менее 1 Ом

      D7-35 (CS) - D64-8 (CS)*

      Всегда

      Менее 1 Ом

      D7-36 (TRIP) - D64-2 (TRIP)

      Всегда

      Менее 1 Ом

      Номинальное сопротивление (при проверке на короткое замыкание)

      Подключение диагностического прибора

      Условие

      Заданные условия

      D7-34 (DISP) или D64-3 (DISP) - масса

      Всегда

      10 кОм или более

      D7-35 (CS) или D64-8 (CS) - масса*

      Всегда

      10 кОм или более

      D7-36 (TRIP) или D64-2 (TRIP) - масса

      Всегда

      10 кОм или более

    * : для моделей с переключателем "км/ч / мили в час"

    ЗАМЕНИТЕ ЩИТОК ПРИБОРОВ В СБОРЕ

    (см.Click hereстр.)

    ОТРЕМОНТИРУЙТЕ ИЛИ ЗАМЕНИТЕ ЖГУТ ПРОВОДОВ ИЛИ РАЗЪЕМ