SFI SYSTEM(w/o EGR System), Diagnostic DTC:P2111 and P2112

DTC Code DTC Name
P2111 Throttle Actuator Control System - Stuck Open
P2112 Throttle Actuator Control System - Stuck Closed

DESCRIPTION

The throttle actuator is operated by the ECM, and opens and closes the throttle valve using gears. The opening angle of the throttle valve is detected by the throttle position sensor, which is mounted on the throttle body with motor assembly. The throttle position sensor provides feedback to the ECM. This feedback allows the ECM to appropriately control the throttle actuator and monitor the throttle opening angle as the ECM responds to a request from the hybrid system.

Tip:

This Electronic Throttle Control System (ETCS) does not use a throttle cable.

DTC No.

Detection Item

DTC Detection Condition

Trouble Area

MIL

Memory

P2111

Throttle Actuator Control System - Stuck Open

The ECM signals the throttle actuator to close, but the actuator is stuck (1 trip detection logic).

  • Throttle actuator

  • Throttle body with motor assembly

  • Throttle valve

  • Wire harness or connector

  • ECM

Comes on

DTC stored

P2112

Throttle Actuator Control System - Stuck Closed

The ECM signals the throttle actuator to open, but the actuator is stuck (1 trip detection logic).

  • Throttle actuator

  • Throttle body with motor assembly

  • Throttle valve

  • Wire harness or connector

  • ECM

Comes on

DTC stored

MONITOR DESCRIPTION

The ECM determines that there is a malfunction in the ETCS when the throttle valve remains at a fixed angle despite a high drive current from the ECM. The ECM then illuminates the MIL and stores a DTC.

MONITOR STRATEGY

Required Sensors/Components

Throttle actuator (throttle body with motor assembly)

Frequency of Operation

Continuous

TYPICAL ENABLING CONDITIONS

Throttle actuator

On

Throttle actuator duty calculation

Executing

Throttle position sensor fail

Not detected

Throttle actuator current-cut operation

Not executing

Throttle actuator power supply

4 V or higher

Throttle actuator fail

Not detected

Table 1. P2111: Throttle Actuator Stuck Open

Throttle actuator current

2 A or higher

Duty-cycle to close throttle

80% or higher

Table 2. P2112: Throttle Actuator Stuck Closed

Throttle actuator current

2 A or higher

Duty-cycle to open throttle

80% or higher

TYPICAL MALFUNCTION THRESHOLDS

Throttle position sensor voltage

No change

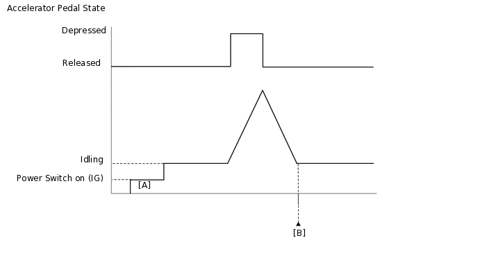
CONFIRMATION DRIVING PATTERN

A199314E35
  1. Connect the GTS to the DLC3.

  2. Turn the power switch on (IG) and turn the GTS on.

  3. Clear the DTCs (even if no DTCs are stored, perform the clear DTC procedure).

  4. Turn the power switch off and wait for at least 30 seconds.

  5. Turn the power switch on (IG) and turn the GTS on [A].

  6. Put the engine in inspection mode (maintenance mode).

    Click here

  7. Start the engine and fully depress and release the accelerator pedal quickly (to fully open and close the throttle valve).

  8. Enter the following menus: Powertrain / Engine and ECT / Trouble Codes [B].

  9. Read the pending DTCs.

    Tip:
    • If a pending DTC is output, the system is malfunctioning.

    • If a pending DTC is not output, perform the following procedure.

  10. Enter the following menus: Powertrain / Engine and ECT / Utility / All Readiness.

  11. Input the DTC: P2111 or P2112.

  12. Check the DTC judgment result.

    GTS Display

    Description

    NORMAL

    • DTC judgment completed

    • System normal

    ABNORMAL

    • DTC judgment completed

    • System abnormal

    INCOMPLETE

    • DTC judgment not completed

    • Perform driving pattern after confirming DTC enabling conditions

    N/A

    • Unable to perform DTC judgment

    • Number of DTCs which do not fulfill DTC preconditions has reached ECU memory limit

    Tip:
    • If the judgment result shows NORMAL, the system is normal.

    • If the judgment result shows ABNORMAL, the system has a malfunction.

    • If the judgment result shows INCOMPLETE or N/A, perform steps [A] through [B] again and, if necessary, drive the vehicle for a period of time.

FAIL-SAFE

When either of these DTCs or other DTCs relating to Electronic Throttle Control System (ETCS) malfunctions are stored, the ECM enters fail-safe mode. During fail-safe mode, the ECM cuts the current to the throttle actuator, and the throttle valve is returned to a 5.5° throttle valve opening angle by the return spring. The ECM stops the engine and the vehicle can be driven using solely the hybrid system. If the accelerator pedal is depressed firmly and gently, the vehicle can be driven slowly.

Fail-safe mode continues until a pass condition is detected, and the power switch is then turned off.

WIRING DIAGRAM

Refer to DTC P2102.

Click here

CAUTION / NOTICE / HINT

Tip:
  • Refer to "Data List / Active Test" [Throttle Position Command, Throttle Position No.1, Throttle Motor Current, Throttle Motor Duty (Open), Throttle Motor Duty (Close)].

    Click here

  • Read freeze frame data using the GTS. The ECM records vehicle and driving condition information as freeze frame data the moment a DTC is stored. When troubleshooting, freeze frame data can help determine if the vehicle was moving or stationary, if the engine was warmed up or not, if the air fuel ratio was lean or rich, and other data from the time the malfunction occurred.

PROCEDURE

  1. CHECK ANY OTHER DTCS OUTPUT (IN ADDITION TO DTC P2111 OR P2112)

    1. Connect the GTS to the DLC3.

    2. Turn the power switch on (IG).

    3. Turn the GTS on.

    4. Enter the following menus: Powertrain / Engine and ECT / Trouble Codes.

    5. Read the DTCs.

      Powertrain > Engine and ECT > Trouble Codes

      Result

      Result

      Proceed to

      DTC P2111 or P2112 is output

      A

      DTC P2111 or P2112 and other DTCs are output

      B

      Tip:

      If any DTCs other than P2111 or P2112 are output, troubleshoot those DTCs first.

    B

    GO TO DTC CHART

    A
  2. INSPECT THROTTLE BODY WITH MOTOR ASSEMBLY (VISUALLY CHECK THROTTLE VALVE)

    1. Check for contamination between the throttle valve and housing. If necessary, clean the throttle body with motor assembly. Also check that the throttle valve moves smoothly.

      OK

      Throttle valve is not contaminated with foreign matter and moves smoothly.

      Tip:

      Perform "Inspection After Repair" after cleaning the throttle body with motor assembly.

      Click here

    Result

    Proceed to

    OK

    NG

    NG

    REPLACE THROTTLE BODY WITH MOTOR ASSEMBLYClick here

    OK
  3. READ VALUE USING GTS (THROTTLE POSITION)

    1. Connect the GTS to the DLC3.

    2. Turn the power switch on (IG).

    3. Turn the GTS on.

    4. Clear the DTCs.

      Click here

      Powertrain > Engine and ECT > Clear DTCs

    5. Turn the power switch off and wait for at least 30 seconds.

    6. Turn the power switch on (IG) and turn the GTS on.

    7. Enter the following menus: Powertrain / Engine and ECT / Data List / Ptrl Throttle / Throttle Position No.1, Throttle Position No.2 and Throttle Position Command.

      Powertrain > Engine and ECT > Data List

      Tester Display

      Throttle Position No.1

      Throttle Position No.2

      Throttle Position Command

    8. Read the values displayed on the GTS while wiggling the ECM wire harness.

    9. Enter the following menus: Powertrain / Engine and ECT / Trouble Codes.

    10. Read the DTCs.

      Powertrain > Engine and ECT > Trouble Codes

      Result

      Result

      Proceed to

      Value in Data List changes when wire harness is wiggled, or DTC is output

      A

      Other than above

      B

    B

    CHECK WHETHER DTC OUTPUT RECURS (DTC P2111 OR P2112)Click here

    A
  4. REPAIR OR REPLACE HARNESS OR CONNECTOR (ECM - THROTTLE BODY WITH MOTOR ASSEMBLY)

    1. As the DTC was stored due to a change in the contact resistance of the connector, repair or replace the wire harness or connector.

      Click here

    Result

    Proceed to

    NEXT

    NEXT

    END

  5. REPLACE THROTTLE BODY WITH MOTOR ASSEMBLY

    1. Replace the throttle body with motor assembly.

      Click here

      Tip:

      Perform "Inspection After Repair" after replacing the throttle body with motor assembly.

      Click here

    Result

    Proceed to

    NEXT

    NEXT
  6. CHECK WHETHER DTC OUTPUT RECURS (DTC P2111 OR P2112)

    1. Connect the GTS to the DLC3.

    2. Turn the power switch on (IG).

    3. Turn the GTS on.

    4. Clear the DTCs.

      Click here

      Powertrain > Engine and ECT > Clear DTCs

    5. Turn the power switch off and wait for at least 30 seconds.

    6. Turn the power switch on (IG).

    7. Turn the GTS on.

    8. Drive the vehicle in accordance with the driving pattern described in Confirmation Driving Pattern.

    9. Enter the following menus: Powertrain / Engine and ECT / Trouble Codes.

    10. Read the DTCs.

      Powertrain > Engine and ECT > Trouble Codes

      Result

      Result

      Proceed to

      DTCs are not output

      A

      DTC P2111 or P2112 is output

      B

    A

    END

    B

    REPLACE ECM