INTELLIGENT PARKING ASSIST SYSTEM Vehicle does not Move to Set Parking Position

CAUTION / NOTICE / HINT

Note


  • When the "System initializing" message is displayed on the radio and display receiver assembly*1 or navigation receiver assembly*2 after the auxiliary battery cable has been disconnected, correct the steering angle neutral point Click here.

  • Depending on the parts that are replaced or operations that are performed during vehicle inspection or maintenance, calibration of other systems as well as the intelligent parking assist system may be needed Click here.

  • If initialization is necessary while performing an inspection, perform initialization first and then proceed to the next step.


  • *1: for Radio and Display Type

  • *2: for Navigation Receiver Type

PROCEDURE


  1. CHECK TIRE SIZE


    1. Check that the tire pressure and tire size are as specified. Check that there is no excessive wear on the tires.

      Result
      Result Proceed to
      Tire size is as specified and there is no excessive wear A
      Tire size is as specified but there is excessive wear B
      Tire size is not as specified but there is no excessive wear A
      Tire size is not as specified and there is excessive wear B
      Tire size is totally different from specified size B

    B
    A
  2. CHECK TIRE ROTATION


    1. Check tire movement distance.

      A005B6WE01
      *a 5 Rotations
      *b Chalk Mark
      *c A mm

      1. On a level surface, center the steering wheel and stop the vehicle.

      2. Apply chalk to a point on the tire and on the ground.

      3. Drive the vehicle straight ahead, and stop the vehicle after the tire rotates 5 times.

      4. Mark the vehicle stop position on the ground, and measure the movement distance A mm (ft.). Check that the measured distance is within the standard range.

        Standard
        9458 to 9943 mm (31.03 to 32.62 ft.)

    NG
    OK
  3. CHECK SYMPTOMS


    1. Parallel parking


      1. Move the vehicle to a level area with parking spaces.

      2. Using the intelligent parking assist system, perform parallel parking. Check how the vehicle deviates from the set parking position.

        Tech Tips

        Begin the check with the vehicle at a 45° angle to the parking space. Perform the check from the right and left side of the parking space.

      3. Select the case below that is most similar to the problem, and follow the instructions.

    2. Deviation examples


      1. Case 1

        A005BR2
        Case Type of Deviation Cause Proceed to
        1 Vehicle deviates toward inner side (steering wheel is turned too much)
        • Actual turning radius is small

        • Television camera adjustment value deviated

        A
      2. Case 2

        A005B3I
        Case Type of Deviation Cause Proceed to
        2 Vehicle deviates toward outer side (steering wheel is turned too little)
        • Actual turning radius is large

        • Television camera adjustment value deviated

        B
      3. Case 3

        A005B7O
        Case Type of Deviation Cause Proceed to
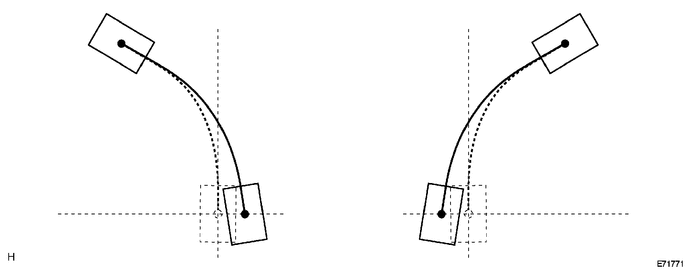
        3 Regardless of side in which parking is performed, vehicle front deviates to left
        • Steering angle memorized value deviated

        • Television camera adjustment value deviated

        C
      4. Case 4

        A005F3T
        Case Type of Deviation Cause Proceed to
        4 Regardless of side in which parking is performed, vehicle front deviates to right
        • Steering angle memorized value deviated

        • Television camera adjustment value deviated

        C
      5. Case 5

        A005A1X
        Case Type of Deviation Cause Proceed to
        5 Regardless of side in which parking is performed, entire vehicle deviates to left
        • Steering angle memorized value deviated

        • Television camera adjustment value deviated

        C
      6. Case 6

        A005EKO
        Case Type of Deviation Cause Proceed to
        6 Regardless of side in which parking is performed, entire vehicle deviates to right
        • Steering angle memorized value deviated

        • Television camera adjustment value deviated

        C

    B
    C
    A
  4. ADJUST SETTINGS (HEIGHT SET AND CAMERA POSITION SETTING)


    1. Perform the height control sensor vehicle height difference setting Click here.

    2. Perform the rear television camera optical axis adjustment Click here.

    3. Check deviation


      1. Operate the intelligent parking assist system and check if the malfunction reoccurs.

        OK
        Returns to normal

    OK
    NG
  5. CHECK FRONT WHEEL ALIGNMENT


    1. Perform the front wheel alignment inspection Click here.

      Tech Tips

      For alignment inspection, follow the toe-in and camber specifications.

      OK
      Alignment is within specifications

      Tech Tips

      For alignment adjustment, follow the toe-in and camber specifications.


    NG
    OK
  6. CHECK REAR WHEEL ALIGNMENT


    1. Perform the rear wheel alignment inspection Click here.

      Tech Tips

      For alignment inspection, follow the toe-in and camber specifications.

      OK
      Alignment is within specifications

      Tech Tips

      For alignment adjustment, follow the toe-in and camber specifications.


    OK
    NG
  7. CHECK FRONT WHEEL ALIGNMENT


    1. Perform the front wheel alignment inspection Click here.

      Tech Tips

      For alignment inspection, follow the toe-in and camber specifications.

      OK
      Alignment is within specifications

      Tech Tips

      For alignment adjustment, follow the toe-in and camber specifications.


    NG
    OK
  8. CHECK REAR WHEEL ALIGNMENT


    1. Perform the rear wheel alignment inspection Click here.

      Tech Tips

      For alignment inspection, follow the toe-in and camber specifications.

      OK
      Alignment is within specifications

      Tech Tips

      For alignment adjustment, follow the toe-in and camber specifications.


    NG
    OK
  9. ADJUST SETTINGS (HEIGHT SET AND CAMERA POSITION SETTING)


    1. Perform the height control sensor vehicle height difference setting Click here.

    2. Perform the rear television camera optical axis adjustment Click here.

    3. Check deviation


      1. Operate the intelligent parking assist system and check if the malfunction reoccurs.

        OK
        Returns to normal

    OK
    NG
  10. ADJUST SETTINGS (STEERING ANGLE SETTING)


    1. Perform the steering angle setting Click here.

    2. Check deviation


      1. Operate the intelligent parking assist system and check if the malfunction reoccurs.

        OK
        Returns to normal

    OK
    NG
  11. ADJUST SETTINGS (HEIGHT SET AND CAMERA POSITION SETTING)


    1. Perform the height control sensor vehicle height difference setting Click here.

    2. Perform the rear television camera optical axis adjustment Click here.

    3. Check deviation


      1. Operate the intelligent parking assist system and check if the malfunction reoccurs.

        OK
        Returns to normal

    OK
    NG
  12. CHECK FRONT WHEEL ALIGNMENT


    1. Perform the front wheel alignment inspection Click here.

      Tech Tips

      For alignment inspection, follow the toe-in and camber specifications.

      OK
      Alignment is within specifications

      Tech Tips

      For alignment adjustment, follow the toe-in and camber specifications.


    NG
    OK
  13. CHECK REAR WHEEL ALIGNMENT


    1. Perform the rear wheel alignment inspection Click here.

      Tech Tips

      For alignment inspection, follow the toe-in and camber specifications.

      OK
      Alignment is within specifications

      Tech Tips

      For alignment adjustment, follow the toe-in and camber specifications.


    OK
    NG