ЗАДНИЕ БЛОКИ ФОНАРЕЙ В СБОРЕ ПРОВЕРКА

ПОРЯДОК ВЫПОЛНЕНИЯ

  1. ПРОВЕРЬТЕ ЛЕВЫЙ ЗАДНИЙ БЛОК ФОНАРЕЙ В СБОРЕ

    1. E299513C01

      *a

      Устройство с неподсоединенным жгутом проводов

      (Левый задний блок фонарей в сборе)

      Подайте напряжение аккумуляторной батареи на разъем и проверьте состояние освещения.

      OK

      Условие

      Заданные условия

      Положительный (+) вывод аккумуляторной батареи → Q16-2 (STP)

      Отрицательный (-) вывод аккумуляторной батареи → Q16-4 (E)

      Стоп-сигнал горит

      Положительный (+) вывод аккумуляторной батареи → Q16-3 (B)

      Отрицательный (-) вывод аккумуляторной батареи → Q16-4 (E)

      Задний фонарь горит

      Если результат не соответствует требованиям, замените левый задний блок фонарей в сборе.

  2. ПРОВЕРЬТЕ ПРАВЫЙ ЗАДНИЙ БЛОК ФОНАРЕЙ В СБОРЕ

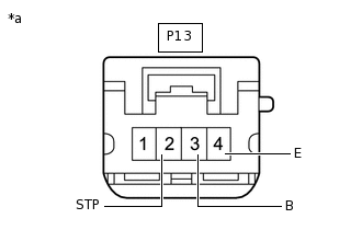
    1. E299513C04

      *a

      Устройство с неподсоединенным жгутом проводов

      (правый задний блок фонарей в сборе)

      Подайте напряжение аккумуляторной батареи на разъем и проверьте состояние освещения.

      OK

      Условие

      Заданные условия

      Положительный (+) вывод аккумуляторной батареи → P13-2 (STP)

      Отрицательный (-) вывод аккумуляторной батареи → P13-4 (E)

      Стоп-сигнал горит

      Положительный (+) вывод аккумуляторной батареи → P13-3 (B)

      Отрицательный (-) вывод аккумуляторной батареи → P13-4 (E)

      Задний фонарь горит

      Если результат не соответствует требованиям, замените правый задний блок фонарей в сборе.