REAR WHEEL ALIGNMENT ADJUSTMENT
PROCEDURE
INSPECT TIRES
MEASURE VEHICLE HEIGHT
INSPECT TOE-IN
-

Front of the Vehicle
Bounce the vehicle up and down at the corners to stabilize the suspension and inspect toe-in.
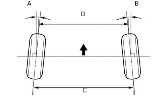
Toe-in (Unloaded Vehicle)
-
Front A + B
Rear C - D
Toe-in
(Total)
A + B: 0°11' +/-10' (0.18° +/-0.17°)
C - D: 2.3 +/-1 mm (0.09 +/-0.04 in.)
Tip:If the toe-in is not within the specified range, inspect the suspension parts and replace them if necessary.
-
ADJUST TOE-IN
Loosen the toe adjust cam nut.
-
Turn the adjust cams by an equal amount to adjust the toe-in.
Toe-in (Unloaded Vehicle)
-
Front A + B
Rear C - D
Toe-in
(Total)
A + B: 0°11' +/-10' (0.18° +/-0.17°)
C - D: 2.3 +/-1 mm (0.09 +/-0.04 in.)
Tip:Try to adjust the toe-in to the center value.
The toe-in will change by approximately 3.6 mm (0.142 in.) for each gradation of the cam.
-
Tighten the toe adjust cam nut.
120 N*m
1224 kgf*cm
89 ft.*lbf
INSPECT CAMBER
*a
Gauge
Install a camber-caster-kingpin gauge or set the vehicle on a wheel alignment tester.
Inspect the camber.
Standard Camber Inclination (Unloaded Vehicle)
Tire Size
Item
Camber Inclination
Right-left Difference
215/70R16
-
-1°14' +/-45' (-1.23° +/-0.75°)
45' (0.75°) or less
225/65R17
-
-1°17' +/-45' (-1.28° +/-0.75°)
45' (0.75°) or less
Rough Road Package
-1°07' +/-45' (-1.12° +/-0.75°)
45' (0.75°) or less
235/55R18
-
-1°15' +/-45' (-1.25° +/-0.75°)
45' (0.75°) or less
Rough Road Package
-1°05' +/-45' (-1.08° +/-0.75°)
45' (0.75°) or less
225/60R18
-
-1°15' +/-45' (-1.25° +/-0.75°)
45' (0.75°) or less
If the measured value is not within the specified range, inspect the suspension parts for damage and wear. Replace parts as necessary as the camber cannot be properly adjusted with any damaged or worn parts.
PLACE FRONT WHEELS FACING STRAIGHT AHEAD
PERFORM YAW RATE SENSOR ZERO POINT CALIBRATION