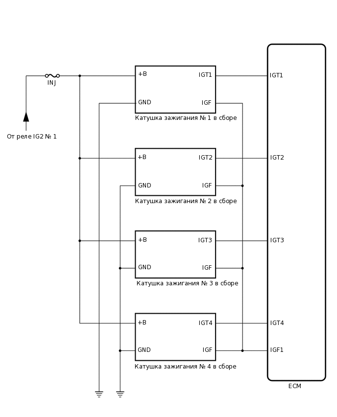
СИСТЕМА ЗАЖИГАНИЯ СХЕМА СИСТЕМЫ

A414694E01