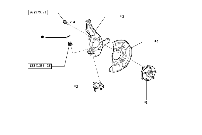
STEERING KNUCKLE COMPONENTS
ILLUSTRATION
*1 |
FRONT AXLE HUB SUB-ASSEMBLY LH |
*2 |
FRONT LOWER BALL JOINT ASSEMBLY LH |
*3 |
STEERING KNUCKLE LH |
*4 |
FRONT BRAKE DUST COVER |
![]() |
N*m (kgf*cm, ft.*lbf): Specified torque |
● |
Non-reusable part |
