СЕНСОРНАЯ СИСТЕМА ПОМОЩИ ПРИ ПАРКОВКЕ TOYOTA ОПИСАНИЕ СИСТЕМЫ


  1. ОБЩИЕ СВЕДЕНИЯ


    1. Данная система использует ультразвуковые датчики для обнаружения препятствий сбоку и сзади автомобиля. Система информирует водителя о дистанции между датчиками и препятствиями, указывая положения препятствий на мультиинформационном дисплее на щитке приборов или радиоприемнике с дисплеем, а также включая зуммер.

  2. НАЗНАЧЕНИЕ УЗЛОВ И ДЕТАЛЕЙ

    Устройство Функция

    Переключатель на рулевом колесе в сборе

    - Многофункциональный переключатель (главный выключатель системы ультразвуковой локации)

    С помощью этого переключателя можно разрешить, запретить работу сенсорной системы помощи при парковке TOYOTA, а также отключить эту систему.

    Передний угловой ультразвуковой датчик

    Задний угловой ультразвуковой датчик

    Задний центральный ультразвуковой датчик

    Определяют расстояние между автомобилем и препятствием.
    Зуммер предупреждения о недопустимой дистанции № 1
    • Звучит, когда сенсорная система помощи при парковке TOYOTA включается приблизительно на 2 секунды или более после включения зажигания (IG) (не звучит, если сенсорная система помощи при парковке TOYOTA включается менее чем на 2 секунды при включенном зажигании (IG)).*

    • Подает звуковой сигнал, информируя водителя о дистанции до препятствия.

    Щиток приборов в сборе

    - Мультиинформационный дисплей


    • Отображает положение препятствия и приблизительное расстояние между автомобилем и препятствием.

    • Информирует водителя о неисправностях ультразвукового датчика.

    Щиток приборов в сборе

    - Датчик системы ультразвуковой локации

    Светится для уведомления водителя, когда питание сенсорной системы помощи при парковке TOYOTA включено (выключатель зажигание в состоянии ON (ВКЛ) (IG), и сенсорная система помощи при парковке TOYOTA включена).
    Щиток приборов в сборе
    • Передает сигнал скорости автомобиля в ЭБУ предупреждения о недопустимой дистанции.

    • Получает сигнал включения/выключения сенсорной системы помощи при парковке TOYOTA (главного выключателя системы ультразвуковой локации) от многофункционального переключателя в составе переключателей на рулевом колесе и передает его в ЭБУ предупреждения о недопустимой дистанции.

    ЭБУ предупреждения о недопустимой дистанции в сборе
    • Оценивает приблизительное расстояние между автомобилем и препятствием, исходя из сигналов ультразвуковых датчиков, и передает эти данные в мультиинформационный дисплей в щитке приборов и многофункциональный дисплей в щитке приборов.

    • Включает зуммер.

    Главный ЭБУ кузова Передает в ЭБУ предупреждения о недопустимой дистанции сведения о пункте назначения.
    ECM Передает в ЭБУ предупреждения о недопустимой дистанции в сборе сигнал положения рычага переключения передач.

    Радиоприемник с дисплеем

    - Многофункциональный дисплей


    • Получает сигналы изображения от ЭБУ предупреждения о недопустимой дистанции и выводит их на панель дисплея.

    • Передает настройки пользователя, отображаемые на многофункциональном дисплее в ЭБУ предупреждения о недопустимой дистанции.

    *: Зуммер не звучит, когда зажигание включено (IG), и включен главный выключатель системы ультразвуковой локации.

  3. ОПИСАНИЕ РАБОТЫ


    1. Условия работы каждого ультразвукового датчика различаются в зависимости от положения его установки, как показано в следующей таблице.

      Установочное положение Условия работы
      Передний угловой датчик
      • Зажигание включено (IG).

      • Сенсорная система помощи при парковке TOYOTA включена.

      • Рычаг переключения передач находится в любом положении, кроме P.

      • Скорость автомобиля ниже примерно 10 км/час (6,2 мили в час). Датчик прекращает работу, когда скорость автомобиля превышает приблизительно 15 км/час (9,3 мили в час), и начинает работать, когда скорость автомобиля оказывается ниже приблизительно 10 км/час (6,2 мили в час).

      Задний угловой датчик
      • Зажигание включено (IG).

      • Сенсорная система помощи при парковке TOYOTA включена.

      • Рычаг переключения передач в положении R.

      Задний центральный датчик
      • Зажигание включено (IG).

      • Сенсорная система помощи при парковке TOYOTA включена.

      • Рычаг переключения передач в положении R.

      Во время работы системы ультразвуковые датчики под управлением ЭБУ предупреждения о недопустимой дистанции излучают ультразвуковые колебания. Когда эти колебания сталкиваются с препятствием, находящимся в одной или нескольких зонах распознаваемых дистанций датчиков, они отражаются и возвращаются к датчикам, которые направляют соответствующие сигналы в ЭБУ предупреждения о недопустимой дистанции.

      На основании этой информации ЭБУ предупреждения о недопустимой дистанции передает сигналы на контрольную лампу и зуммер предупреждения о недопустимой дистанции № 1. В результате отображается приблизительное расстояние между автомобилем и препятствием, и зуммер подает звуковой сигнал.

      Tech Tips

      См "Измерение распознаваемой дистанции и проверка дисплея" (стр. Click here).

  4. СИГНАЛЫ ПЕРЕДАЧИ ДАННЫХ УСТРОЙСТВ

    Tech Tips


    • Под назначением понимается процесс присвоения ЭБУ предупреждения о недопустимой дистанции индивидуальных идентификаторов для датчиков.

    • Датчики на автомобиле объединены в 2 группы. Существуют передние и задние датчики. Все датчики включены в "гирляндную цепь".


    1. Режим инициализации:

      Каждому датчику присваивается идентификатор, после чего выполняется диагностика датчика.

      B006NO5C01
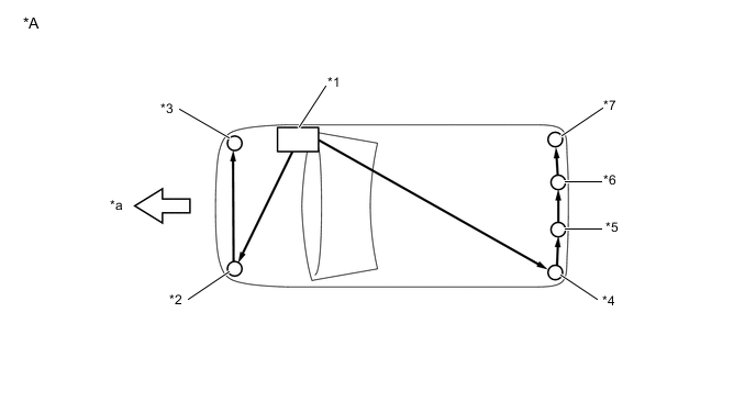
      *A Для моделей с левосторонним рулевым управлением - -
      *1 ЭБУ предупреждения о недопустимой дистанции в сборе *2 Левый передний угловой ультразвуковой датчик
      *3 Правый передний угловой ультразвуковой датчик *4 Левый задний угловой ультразвуковой датчик
      *5 Левый задний центральный ультразвуковой датчик *6 Правый задний центральный ультразвуковой датчик
      *7 Правый задний угловой ультразвуковой датчик - -
      *a Спереди - -
      B006PFQC01
      *A Для моделей с правосторонним рулевым управлением - -
      *1 ЭБУ предупреждения о недопустимой дистанции в сборе *2 Левый передний угловой ультразвуковой датчик
      *3 Правый передний угловой ультразвуковой датчик *4 Левый задний угловой ультразвуковой датчик
      *5 Левый задний центральный ультразвуковой датчик *6 Правый задний центральный ультразвуковой датчик
      *7 Правый задний угловой ультразвуковой датчик - -
      *a Спереди - -

      1. Во время первоначальной проверки (зажигание включено [IG], как и сенсорная система помощи при парковке TOYOTA) ЭБУ предупреждения о недопустимой дистанции подает напряжение на первые датчики в каждом ряду (левый передний угловой датчик* и левый задний угловой датчик).

        Tech Tips

        См. "Самодиагностика (первоначальная проверка)" (стр. Click here).

      2. После подачи питания левый передний угловой датчик и левый задний угловой датчик переходят в режим ожидания идентификатора от ЭБУ. По истечении определенного периода времени ЭБУ передает датчикам сигналы назначения идентификаторов.

      3. Левый передний угловой датчик и левый задний угловой датчик принимают сигналы назначения идентификаторов от ЭБУ и выполняют самодиагностику. По окончании самодиагностики датчиков ЭБУ передает этим датчикам сигналы подтверждения назначения идентификаторов.

      4. После подтверждения назначения идентификаторов ЭБУ через первые датчики подает питание на вторые датчики каждого ряда (левый передний угловой и левый задний угловой). Так же как и первые датчики, вторые датчики переходят в режим ожидания. По истечении определенного периода времени ЭБУ отправляет вторым датчикам сигналы назначения идентификаторов.

      5. Рассмотренная последовательность действий повторяется до тех пор, пока идентификатор не будет назначен последнему датчику переднего ряда (правый передний угловой датчик) и заднего ряда (правый задний угловой датчик). По окончании назначения идентификаторов ультразвуковым датчикам инициализация завершается.

    2. Режим распознавания:

      После завершения работы в режиме инициализации система переключается в режим распознавания. В этом режиме ЭБУ предупреждения о недопустимой дистанции передает ультразвуковым датчикам сигналы запроса данных и сигналы активации датчиков и получает от датчиков сигналы результата распознавания.


      1. В соответствии с графиком передачи данных на шине ЭБУ регулярно передает всем ультразвуковым датчикам сигналы идентификации, сигналы запроса данных и сигналы активации датчиков.

      2. По истечении определенного периода времени (после завершения датчиком операции распознавания) ЭБУ передает датчику сигнал идентификации, чтобы получить сигнал результата распознавания.

      3. Ультразвуковой датчик направляет в ЭБУ сигнал результата распознавания или сигнал данных распознавания.

      4. Описанные выше действия периодически выполняются для каждого из ультразвуковых датчиков.