CAN COMMUNICATION SYSTEM(for LHD), Diagnostic DTC:U0129

DTC Code DTC Name
U0129 Lost Communication with Brake System Control Module

DESCRIPTION

DTC No.

Detection Item

DTC Detection Condition

Trouble Area

DTC Output from

U0129

Lost Communication with Brake System Control Module

No communication from the brake booster with master cylinder assembly (skid control ECU) continues.

  • Brake booster with master cylinder assembly (skid control ECU) CAN branch wire or connector

  • Power source circuit of brake booster with master cylinder assembly (skid control ECU)

  • Brake booster with master cylinder assembly (skid control ECU) ground circuit

  • Brake booster with master cylinder assembly (skid control ECU)

Hybrid vehicle control ECU

WIRING DIAGRAM

C306917E18

CAUTION / NOTICE / HINT

Note:
  • Before measuring the resistance of the CAN bus, turn the power switch off and leave the vehicle for 1 minute or more without operating the key, switches or opening or closing the doors. After that, disconnect the cable from the negative (-) auxiliary battery terminal and leave the vehicle for 1 minute or more before measuring the resistance.

  • After turning the power switch off, waiting time may be required before disconnecting the cable from the negative (-) auxiliary battery terminal. Therefore, make sure to read the disconnecting the cable from the negative (-) auxiliary battery terminal notices before proceeding with work.

    Click hereClick hereClick hereClick here

  • Because the order of diagnosis is important to allow correct diagnosis, make sure to begin troubleshooting using How to Proceed with Troubleshooting when CAN communication system related DTCs are output.

    Click here

  • After the repair, perform the CAN bus check and check that all the ECUs and sensors connected to the CAN communication system are displayed.

    Click hereClick hereClick here

  • DTC check procedure: Turn the power switch on (IG) and wait at least 60 seconds.

  • Inspect the fuses for circuits related to this system before performing the following procedure.

Tip:
  • Operating the power switch, any other switches or a door triggers related ECU and sensor communication on the CAN. This communication will cause the resistance value to change.

  • Even after DTCs are cleared, if a DTC is stored again after driving the vehicle for a while, the malfunction may be occurring due to vibration of the vehicle. In such a case, wiggling the ECUs or wire harness while performing the inspection below may help determine the cause of the malfunction.

PROCEDURE

  1. RECONFIRM DTC OUTPUT

    1. Check for DTCs.

      Powertrain > Hybrid Control > Trouble Codes

      Tip:

      If the hybrid vehicle control ECU outputs DTC U0100, U0129 and U0293 check the branch circuit of sub bus 15.

    Result

    Result

    Result

    Proceed to

    The hybrid vehicle control ECU outputs only DTC U0129.

    A

    The hybrid vehicle control ECU outputs DTC U0100, U0129 and U0293.

    B

    B

    GO TO DIAGNOSIS PROCEDURE INDICATED BY OUTPUT DTC

    A
  2. CHECK FOR OPEN IN CAN BUS WIRE (SKID CONTROL ECU CAN BRANCH WIRE)

    1. C297192C46

      *a

      Front view of wire harness connector

      (to Brake Booster with Master Cylinder Assembly [Skid Control ECU])

      Disconnect the cable from the negative (-) auxiliary battery terminal.

    2. Disconnect the brake booster with master cylinder assembly (skid control ECU) connector.

    3. Measure the resistance according to the value(s) in the table below.

      Standard Resistance

      Tester Connection

      Condition

      Specified Condition

      A110-35 (CA2H) - A110-34 (CA2L)

      Cable disconnected from negative (-) auxiliary battery terminal

      54 to 69 Ω

    Result

    Proceed to

    OK

    NG

    NG

    REPAIR OR REPLACE CAN BRANCH WIRE CONNECTED TO SKID CONTROL ECU (CA2H, CA2L)

    OK
  3. CHECK HARNESS AND CONNECTOR (SKID CONTROL ECU - BATTERY AND BODY GROUND)

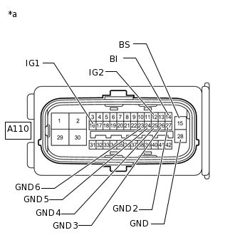
    1. C297192C47

      *a

      Front view of wire harness connector

      (to Brake Booster with Master Cylinder Assembly [Skid Control ECU])

      Connect the cable to the negative (-) auxiliary battery terminal.

      Note:

      When disconnecting the cable, some systems need to be initialized after the cable is reconnected.

      Click hereClick hereClick here

    2. Measure the voltage according to the value(s) in the table below.

      Standard Voltage

      Tester Connection

      Switch Condition

      Specified Condition

      A110-15 (BS) - Body ground

      Power switch off

      11 to 14 V

      A110-14 (BI) - Body ground

      Power switch off

      11 to 14 V

      A110-16 (IG1) - Body ground

      Power switch on (IG)

      11 to 14 V

      A110-12 (IG2) - Body ground

      Power switch on (IG)

      11 to 14 V

    3. Measure the resistance according to the value(s) in the table below.

      Standard Resistance

      Tester Connection

      Condition

      Specified Condition

      A110-28 (GND) - Body ground

      Always

      Below 1 Ω

      A110-27 (GND2) - Body ground

      Always

      Below 1 Ω

      A110-26 (GND3) - Body ground

      Always

      Below 1 Ω

      A110-25 (GND4) - Body ground

      Always

      Below 1 Ω

      A110-24 (GND5) - Body ground

      Always

      Below 1 Ω

      A110-23 (GND6) - Body ground

      Always

      Below 1 Ω

    Result

    Proceed to

    OK

    NG

    OK

    REPLACE BRAKE BOOSTER WITH MASTER CYLINDER ASSEMBLY (SKID CONTROL ECU)

    NG

    REPAIR OR REPLACE HARNESS OR CONNECTOR