AIRBAG SYSTEM, Diagnostic DTC:B1860/64, B1861/64, B1862/64, B1863/64

DTC Code DTC Name
B1860/64 Short in Driver Side Knee Airbag Squib Circuit
B1861/64 Open in Driver Side Knee Airbag Squib Circuit
B1862/64 Short to GND in Driver Side Knee Airbag Squib Circuit
B1863/64 Short to B+ in Driver Side Knee Airbag Squib Circuit

DESCRIPTION

The driver side knee airbag squib circuit consists of the airbag ECU assembly and lower No. 1 instrument panel airbag assembly.

The airbag ECU assembly uses this circuit to deploy the airbag when deployment conditions are met.

These DTCs are stored when a malfunction is detected in the driver side knee airbag squib circuit.

DTC No. DTC Detection Condition Trouble Area
B1860/64
  • The airbag ECU assembly receives a line short circuit signal in the driver side knee airbag squib circuit during primary check.

  • Driver side knee airbag squib malfunction

  • Airbag ECU assembly malfunction


  • Instrument panel wire

  • Lower No. 1 instrument panel airbag assembly (Driver side knee airbag squib)

  • Airbag ECU assembly

B1861/64
  • The airbag ECU assembly receives an open circuit signal in the driver side knee airbag squib circuit.

  • Driver side knee airbag squib malfunction

  • Airbag ECU assembly malfunction

B1862/64
  • The airbag ECU assembly receives a short circuit to ground signal in the driver side knee airbag squib circuit.

  • Driver side knee airbag squib malfunction

  • Airbag ECU assembly malfunction

B1863/64
  • The airbag ECU assembly receives a short circuit to B+ signal in the driver side knee airbag squib circuit.

  • Driver side knee airbag squib malfunction

  • Airbag ECU assembly malfunction

WIRING DIAGRAM

B005ZQVE35
*a Lower No. 1 Instrument Panel Airbag Assembly (Driver Side Knee Airbag Squib)
*b Airbag ECU Assembly

CAUTION / NOTICE / HINT

Note

After turning the power switch off, waiting time may be required before disconnecting the cable from the negative (-) auxiliary battery terminal. Therefore, make sure to read the disconnecting the cable from the negative (-) auxiliary battery terminal notices before proceeding with work Click here.

Tech Tips


  • Perform the simulation method by selecting check mode (Signal Check) using the GTS Click here.

  • After selecting check mode (Signal Check), perform the simulation method by wiggling each connector of the airbag system or driving the vehicle on a city road or rough road Click here.

PROCEDURE


  1. CHECK CONNECTORS


    1. B005XF7E09
      Text in Illustration
      *1 Lower No. 1 Instrument Panel Airbag Assembly
      *2 Airbag ECU Assembly
      *3 Instrument Panel Wire

      Turn the power switch off.

    2. Disconnect the cable from the negative (-) auxiliary battery terminal.

      CAUTION:

      Wait at least 90 seconds after disconnecting the cable from the negative (-) auxiliary battery terminal to disable the SRS system.

    3. Check that the connectors are properly connected to the lower No. 1 instrument panel airbag assembly and airbag ECU assembly.

      OK
      The connectors are properly connected.

      Tech Tips

      If the connectors are not connected securely, reconnect the connectors and proceed to the next inspection.

    4. Disconnect the connectors from the lower No. 1 instrument panel airbag assembly and airbag ECU assembly.

    5. Check that the terminals of the connectors are not damaged.

      OK
      The terminals are not deformed or damaged.
    6. Check that the instrument panel wire connector (on the lower No. 1 instrument panel airbag assembly side) is not damaged.

      OK
      The lock button is not disengaged, and the claw of the lock is not deformed or damaged.
    7. Check that the short spring for the instrument panel wire with the activation prevention mechanism are not deformed or damaged.

      OK
      The short spring is not deformed or damaged.

    NG
    OK
  2. CHECK LOWER NO. 1 INSTRUMENT PANEL AIRBAG ASSEMBLY (DRIVER SIDE KNEE AIRBAG SQUIB)


    1. B005ZBSE02
      Text in Illustration
      *1 Lower No. 1 Instrument Panel Airbag Assembly
      *2 Airbag ECU Assembly
      *a

      Front view of wire harness connector

      (to Lower No. 1 Instrument Panel Airbag Assembly)

      Connect the connector to the airbag ECU assembly.

    2. Connect SST (resistance 2.1 Ω) to connector C.

      CAUTION:

      Never connect the tester to the lower No. 1 instrument panel airbag assembly (driver side knee airbag squib) for measurement, as this may lead to a serious injury due to airbag deployment.

      Note


      • Do not forcibly insert SST into the terminals of the connector when connecting it.

      • Insert SST straight into the terminals of the connector.

      SST
      09843-18061
    3. Connect the cable to the negative (-) auxiliary battery terminal.

    4. Clear the DTCs stored in memory Click here.

    5. Turn the power switch off.

    6. Turn the power switch on (IG), and wait for at least 60 seconds.

    7. Check for DTCs Click here.

      OK
      DTC B1860/64, B1861/64, B1862/64 or B1863/64 is not output.

      Tech Tips

      Codes other than DTCs B1860/64, B1861/64, B1862/64 and B1863/64 may be output at this time, but they are not related to this check.

    8. Turn the power switch off.

    9. Disconnect the cable from the negative (-) auxiliary battery terminal.

      CAUTION:

      Wait at least 90 seconds after disconnecting the cable from the negative (-) auxiliary battery terminal to disable the SRS system.

    10. Disconnect SST from connector C.


    OK
    NG
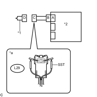
  3. CHECK INSTRUMENT PANEL WIRE


    1. B005YZIE02
      Text in Illustration
      *1 Lower No. 1 Instrument Panel Airbag Assembly
      *2 Airbag ECU Assembly
      *3 Instrument Panel Wire
      *a

      Front view of wire harness connector

      (to Lower No. 1 Instrument Panel Airbag Assembly)

      Disconnect the instrument panel wire from the airbag ECU assembly.

    2. Check for a short to B+ in the circuit.


      1. Connect the cable to the negative (-) auxiliary battery terminal.

      2. Turn the power switch on (IG).

      3. Measure the voltage according to the value(s) in the table below.

        Standard Voltage
        Tester Connection Condition Specified Condition
        L29-1 (DK+) - Body ground Power switch on (IG) Below 1 V
        L29-2 (DK-) - Body ground Power switch on (IG) Below 1 V
      4. Turn the power switch off.

      5. Disconnect the cable from the negative (-) auxiliary battery terminal.

        CAUTION:

        Wait at least 90 seconds after disconnecting the cable from the negative (-) auxiliary battery terminal to disable the SRS system.

    3. Check for an open in the circuit.


      1. Measure the resistance according to the value(s) in the table below.

        Standard Resistance
        Tester Connection Condition Specified Condition
        L29-1 (DK+) - L29-2 (DK-) Always Below 1 Ω
    4. Check for a short to ground in the circuit.


      1. Measure the resistance according to the value(s) in the table below.

        Standard Resistance
        Tester Connection Condition Specified Condition
        L29-1 (DK+) - Body ground Always 1 MΩ or higher
        L29-2 (DK-) - Body ground Always 1 MΩ or higher
    5. Check for a short in the circuit.


      1. Release the activation prevention mechanism built into connector B Click here.

      2. Measure the resistance according to the value(s) in the table below.

        Standard Resistance
        Tester Connection Condition Specified Condition
        L29-1 (DK+) - L29-2 (DK-) Always 1 MΩ or higher
      3. Restore the released activation prevention mechanism of connector B to the original condition.


    NG
    OK
  4. CHECK DTC


    1. B005YPFE15
      Text in Illustration
      *1 Lower No. 1 Instrument Panel Airbag Assembly
      *2 Airbag ECU Assembly

      Connect the connectors to the lower No. 1 instrument panel airbag assembly and airbag ECU assembly.

    2. Connect the cable to the negative (-) auxiliary battery terminal.

    3. Clear the DTCs stored in memory Click here.

    4. Turn the power switch off.

    5. Turn the power switch on (IG), and wait for at least 60 seconds.

    6. Check for DTCs Click here.

      OK
      DTC B1860/64, B1861/64, B1862/64 or B1863/64 is not output.

      Tech Tips

      Codes other than DTCs B1860/64, B1861/64, B1862/64 and B1863/64 may be output at this time, but they are not related to this check.


    OK
    NG