ADAPTIVE VARIABLE SUSPENSION SYSTEM SYSTEM DIAGRAM

A01OCX0E12
A01OD1VE07
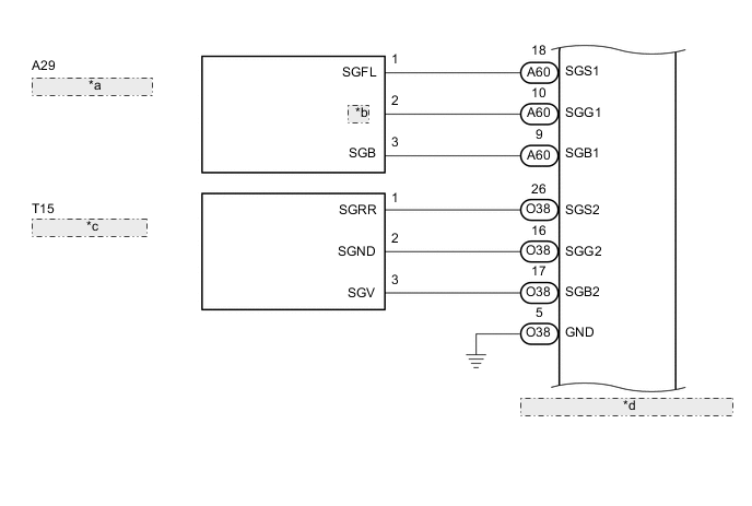
*a Front Acceleration Sensor LH
*b SGG
*c Rear Acceleration Sensor
*d Absorber Control ECU (Built into Front Acceleration Sensor RH)
A01OCT7E04