HYBRID CONTROL SYSTEM, Diagnostic DTC:P314A-828

DTC Code DTC Name
P314A-828 Inverter Coolant Pump Speed Signal

DESCRIPTION

Refer to the description for DTC P0C73-776.

Click here

The inverter water pump assembly sends the inverter water pump speed (measured value) signal to the hybrid vehicle control ECU.

DTC No.

Detection Item

DTC Detection Condition

Trouble Area

MIL

Warning Indicate

P314A-828

Inverter Coolant Pump Speed Signal

The inverter water pump speed signal is not sent to the hybrid vehicle control ECU when the power switch is turned on (READY).*

(1 trip detection logic)

  • Wire harness or connector

  • Hybrid vehicle control ECU

  • Inverter water pump assembly

  • INV W/PMP fuse

  • IGCT NO. 5 fuse

  • INV W/PMP relay

Comes on

Master Warning Light:

Comes on

  • *: Either of the following conditions is met.

  • A malfunction (open, short to +B or short to ground) in the speed signal line from the inverter water pump assembly to the hybrid vehicle control ECU is detected.

  • A malfunction in the inverter water pump assembly power source circuit is detected.

  • A malfunction in the +B line is detected.

  • A malfunction in hybrid vehicle control ECU power source circuit is detected.

Table 1. Related Data List

DTC No.

Data List

P314A-828

  • Inverter W/P Revolution

  • (Inverter) W/P Run Control Duty

  • Ready Signal

Table 2. Related Active Test

DTC No.

Active Test

P314A-828

Activate the (Inverter) Water Pump

WIRING DIAGRAM

Refer to the wiring diagram for DTC P0C73-776.

Click here

CAUTION / NOTICE / HINT

Note:

If DTC P0A78-284, 286, P0A7A-322, 324, P0A94-553 or 557 is output, replace the inverter with converter assembly after this inspection.

Tip:

After the repair, clear the DTCs and perform the following procedure to check that DTCs are not output.

  1. Turn the power switch on (READY) and wait for 2 minutes or more.

PROCEDURE

  1. CLEAR DTC

    Click here

    Result

    Proceed to

    NEXT

    NEXT
  2. PERFORM ACTIVE TEST USING GTS (ACTIVATE THE (INVERTER) WATER PUMP)

    Note:

    Be sure to perform the inspection with the auxiliary battery voltage at 11 V or more.

    Tip:

    When the auxiliary battery voltage is low, the inverter water pump assembly may not operate.

    1. Connect the GTS to the DLC3.

    2. Turn the power switch on (IG).

    3. Enter the following menus: Powertrain / Hybrid Control / Active Test / Activate the (Inverter) Water Pump.

      Powertrain > Hybrid Control > Active Test

      Tester Display

      Activate the (Inverter) Water Pump

    4. Perform the "Activate the (Inverter) Water Pump" Active Test.

    5. Touch the inverter water pump assembly and check that it is operating (vibrating).

      OK

      The inverter water pump is operating (vibrating).

    6. Turn the power switch off.

    Result

    Proceed to

    OK

    NG

    NG

    CHECK CONNECTOR CONNECTION CONDITION (INVERTER WATER PUMP ASSEMBLY CONNECTOR)Click here

    OK
  3. CHECK CONNECTOR CONNECTION CONDITION (HYBRID VEHICLE CONTROL ECU CONNECTOR)

    Click here

    Result

    Proceed to

    OK

    NG

    NG

    CONNECT SECURELY

    OK
  4. CHECK CONNECTOR CONNECTION CONDITION (INVERTER WATER PUMP ASSEMBLY CONNECTOR)

    Click here

    Result

    Proceed to

    OK

    NG

    NG

    CONNECT SECURELY

    OK
  5. CHECK HARNESS AND CONNECTOR (HYBRID VEHICLE CONTROL ECU - INVERTER WATER PUMP ASSEMBLY)

    1. Disconnect the A65 hybrid vehicle control ECU connector.

    2. Disconnect the A107 inverter water pump assembly connector.

    3. Measure the resistance according to the value(s) in the table below.

      A265405C50

      *a

      Rear view of wire harness connector

      (to Hybrid Vehicle Control ECU)

      *b

      Front view of wire harness connector

      (to Inverter Water Pump Assembly)

      Standard Resistance

      Tester Connection

      Condition

      Specified Condition

      A65-14 (NIWP) - A107-2 (NWP)

      Power switch off

      Below 1 Ω

      A65-14 (NIWP) or A107-2 (NWP) - Body ground and other terminals

      Power switch off

      10 kΩ or higher

    4. Reconnect the A107 inverter water pump assembly connector.

    5. Reconnect the A65 hybrid vehicle control ECU connector.

    Result

    Proceed to

    OK

    NG

    NG

    REPAIR OR REPLACE HARNESS OR CONNECTOR

    OK
  6. CHECK HYBRID VEHICLE CONTROL ECU

    1. Disconnect the A107 inverter water pump assembly connector.

    2. Turn the power switch on (IG).

    3. A374929C13

      *a

      Component with harness connected

      (Hybrid Vehicle Control ECU)

      Measure the voltage according to the value(s) in the table below.

      Standard Voltage

      Tester Connection

      Condition

      Specified Condition

      A65-14 (NIWP) - G193-6 (E1)

      Power switch on (IG)

      11 to 14 V

    4. Turn the power switch off.

    5. Reconnect the A107 inverter water pump assembly connector.

    Result

    Proceed to

    OK

    NG

    NG

    REPLACE HYBRID VEHICLE CONTROL ECU

    OK
  7. CLEAR DTC

    Click here

    Result

    Proceed to

    NEXT

    NEXT
  8. PERFORM ACTIVE TEST USING GTS (ACTIVATE THE (INVERTER) WATER PUMP)

    Note:

    Be sure to perform the inspection with the auxiliary battery voltage at 11 V or more.

    Tip:

    When the auxiliary battery voltage is low, the inverter water pump assembly may not operate.

    1. Connect the GTS to the DLC3.

    2. Turn the power switch on (IG).

    3. Enter the following menus: Powertrain / Hybrid Control / Active Test / Activate the (Inverter) Water Pump.

      Powertrain > Hybrid Control > Active Test

      Tester Display

      Activate the (Inverter) Water Pump

    4. Perform the "Activate the (Inverter) Water Pump" Active Test.

    5. C264839C31

      *a

      Component with harness connected

      (Hybrid Vehicle Control ECU)

      Connect an oscilloscope between the hybrid vehicle control ECU terminals specified in the table below, and measure the waveform.

      Item

      Content

      Terminal

      A65-14 (NIWP) - G193-6 (E1)

      Equipment Setting

      5 V/DIV., 100 ms./DIV.

      Condition

      Power switch on (IG), during Active Test

      OK

      The duration of wavelength A is 300 msec or less.

    6. Turn the power switch off.

    Result

    Proceed to

    OK

    NG

    OK

    REPLACE HYBRID VEHICLE CONTROL ECU

    NG

    REPLACE INVERTER WATER PUMP ASSEMBLY

  9. CHECK CONNECTOR CONNECTION CONDITION (INVERTER WATER PUMP ASSEMBLY CONNECTOR)

    Click here

    Result

    Proceed to

    OK

    NG

    NG

    CONNECT SECURELY (INVERTER WATER PUMP ASSEMBLY CONNECTOR)

    OK
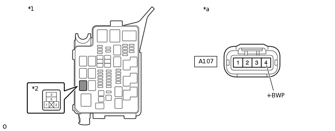
  10. CHECK INSTALLATION CONDITION (INV W/PMP RELAY)

    1. C299060C02

      *1

      No. 2 Engine Room Relay Block and Junction Block Assembly

      *2

      INV W/PMP Relay

      Check installation condition of the INV W/PMP relay.

      OK

      INV W/PMP relay is installed correctly.

    Result

    Proceed to

    OK

    NG

    NG

    INSPECT RELAY (INV W/PMP)Click here

    OK
  11. CHECK HARNESS AND CONNECTOR (IGCT RELAY - INV W/PMP RELAY)

    C299061C02

    *1

    No. 2 Engine Room Relay Block and Junction Block Assembly

    *2

    INV W/PMP Relay

    *3

    IGCT Relay

    1. Remove the INV W/PMP relay and IGCT relay from the No. 2 engine room relay block and junction block assembly.

    2. Measure the resistance according to the value(s) in the table below.

      Standard Resistance

      Tester Connection

      Condition

      Specified Condition

      5 (IGCT relay) - 1 (INV W/PMP relay)

      Power switch off

      Below 1 Ω

      Note:

      Do not apply excessive force when using the probes of the tester to perform the inspection. If excessive force is used, the terminals will be damaged.

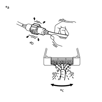
      A288054C02

      *a

      Example

      *b

      Shake Slightly

      *c

      Vibrate Slightly

      Tip:
      • Connectors

        Slightly shake the connector vertically and horizontally.

      • Wire Harness

        Slightly shake the wire harness vertically and horizontally.

        The connector joint and fulcrum of the vibration are the major areas that should be checked thoroughly.

      • No. 2 engine room relay block and junction block assembly

        Apply slight vibration with a finger to the No. 2 engine room relay block and junction block assembly and check whether a malfunction occurs.

      • INV W/PMP relay and IGCT relay

        Apply slight vibration with a finger to the INV W/PMP relay and IGCT relay and check whether a malfunction occurs.

    3. Install the IGCT relay and INV W/PMP relay.

    Result

    Proceed to

    OK

    NG

    NG

    CHECK INSTALLATION CONDITION (IGCT NO. 5 FUSE)Click here

    OK
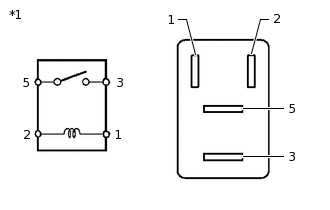
  12. INSPECT RELAY (INV W/PMP)

    1. C299060C03

      *1

      No. 2 Engine Room Relay Block and Junction Block Assembly

      *2

      INV W/PMP Relay

      Remove the INV W/PMP relay from the No. 2 engine room relay block and junction block assembly.

    2. A167865C02

      *1

      INV W/PMP Relay

      Measure the resistance according to the value(s) in the table below.

      Standard Resistance

      Tester Connection

      Condition

      Specified Condition

      3 - 5

      Auxiliary battery voltage is not applied between terminals 1 and 2

      10 kΩ or higher

      Auxiliary battery voltage is applied between terminals 1 and 2

      Below 1 Ω

    3. Install the INV W/PMP relay.

    Result

    Proceed to

    OK

    NG

    NG

    CHECK RELAY HOLDER TERMINAL (INV W/PMP RELAY)Click here

    OK
  13. CHECK HARNESS AND CONNECTOR (INVERTER WATER PUMP ASSEMBLY - BODY GROUND)

    1. Disconnect the A107 inverter water pump assembly connector.

    2. A288050C58

      *a

      Front view of wire harness connector

      (to Inverter Water Pump Assembly)

      Measure the voltage according to the value(s) in the table below.

      Standard Voltage

      Tester Connection

      Condition

      Specified Condition

      A107-4 (+BWP) - Body ground

      Power switch on (IG)

      11 to 14 V

      Note:
      • Do not apply excessive force when using the probes of the tester to perform the inspection. If excessive force is used, the holders will be damaged.

      • Turning the power switch on (IG) with the inverter water pump with motor assembly connector disconnected causes other DTCs to be stored. Clear the DTCs after performing this inspection.

      A288054C02

      *a

      Example

      *b

      Shake Slightly

      *c

      Vibrate Slightly

      Tip:
      • Connectors

        Slightly shake the connector vertically and horizontally.

      • Wire Harness

        Slightly shake the wire harness vertically and horizontally.

        The connector joint and fulcrum of the vibration are the major areas that should be checked thoroughly.

      • No. 2 engine room relay block and junction block assembly

        Apply slight vibration with a finger to the No. 2 engine room relay block and junction block assembly and check whether a malfunction occurs.

      • INV W/PMP fuse

        Apply slight vibration with a finger to the INV W/PMP fuse and check whether a malfunction occurs.

      • INV W/PMP relay

        Apply slight vibration with a finger to the INV W/PMP relay and check whether a malfunction occurs.

    3. Reconnect the A107 inverter water pump assembly connector.

    Result

    Proceed to

    OK

    NG

    NG

    CHECK INSTALLATION CONDITION (INV W/PMP FUSE)Click here

    OK
  14. CHECK HARNESS AND CONNECTOR (INVERTER WATER PUMP ASSEMBLY - BODY GROUND)

    1. Disconnect the A107 inverter water pump assembly connector.

    2. A288050C59

      *a

      Front view of wire harness connector

      (to Inverter Water Pump Assembly)

      Measure the resistance according to the value(s) in the table below.

      Standard Resistance

      Tester Connection

      Condition

      Specified Condition

      A107-1 (GND) - Body ground

      Power switch off

      Below 1 Ω

    3. Reconnect the A107 inverter water pump assembly connector.

    Result

    Proceed to

    OK

    NG

    OK

    REPLACE INVERTER WATER PUMP ASSEMBLY

    NG

    REPAIR OR REPLACE HARNESS OR CONNECTOR

  15. INSPECT RELAY (INV W/PMP)

    1. C299060C03

      *1

      No. 2 Engine Room Relay Block and Junction Block Assembly

      *2

      INV W/PMP Relay

      Remove the INV W/PMP relay from the No. 2 engine room relay block and junction block assembly.

    2. A167865C02

      *1

      INV W/PMP Relay

      Measure the resistance according to the value(s) in the table below.

      Standard Resistance

      Tester Connection

      Condition

      Specified Condition

      3 - 5

      Auxiliary battery voltage is not applied between terminals 1 and 2

      10 kΩ or higher

      Auxiliary battery voltage is applied between terminals 1 and 2

      Below 1 Ω

    3. Install the INV W/PMP relay.

    Result

    Proceed to

    OK

    NG

    OK

    CONNECT SECURELY (INV W/PMP RELAY)

    NG

    REPLACE RELAY (INV W/PMP)

  16. CHECK INSTALLATION CONDITION (IGCT NO. 5 FUSE)

    1. C299063C02

      *1

      No. 2 Engine Room Relay Block and Junction Block Assembly

      *2

      IGCT NO. 5 Fuse

      Check installation condition of the IGCT NO. 5 fuse.

      OK

      IGCT NO. 5 fuse is installed correctly.

    Result

    Proceed to

    OK

    NG

    NG

    INSPECT RELAY (INV W/PMP)Click here

    OK
  17. CHECK FUSE (IGCT NO. 5)

    1. C299063C02

      *1

      No. 2 Engine Room Relay Block and Junction Block Assembly

      *2

      IGCT NO. 5 Fuse

      Remove the IGCT NO. 5 fuse from the No. 2 engine room relay block and junction block assembly.

    2. Measure the resistance according to the value(s) in the table below.

      Standard Resistance

      Tester Connection

      Condition

      Specified Condition

      IGCT NO. 5 fuse

      Always

      Below 1 Ω

    3. Install the IGCT NO. 5 fuse.

    Result

    Proceed to

    OK

    NG

    OK

    REPAIR OR REPLACE HARNESS OR CONNECTOR

    NG

    CHECK FUSE HOLDER TERMINAL (IGCT NO. 5 FUSE)Click here

  18. CHECK RELAY HOLDER TERMINAL (INV W/PMP RELAY)

    1. Check the terminals of the INV W/PMP relay holder.

      OK

      The terminals of the INV W/PMP relay holder are not bent, loose or corroded.

    Result

    Proceed to

    OK

    NG

    OK

    REPLACE RELAY (INV W/PMP)

    NG

    REPAIR OR REPLACE HARNESS OR CONNECTORClick here

  19. CHECK INSTALLATION CONDITION (INV W/PMP FUSE)

    1. C298832C02

      *1

      Engine Room Relay Block and Junction Block Assembly

      *2

      INV W/PMP Fuse

      Check installation condition of the INV W/PMP fuse.

      OK

      INV W/PMP fuse is installed correctly.

    Result

    Proceed to

    OK

    NG

    NG

    CONNECT SECURELY

    OK
  20. INSPECT RELAY (INV W/PMP)

    1. C299060C04

      *1

      No. 2 Engine Room Relay Block and Junction Block Assembly

      *2

      INV W/PMP Relay

      Remove the INV W/PMP relay from the No. 2 engine room relay block and junction block assembly.

    2. A167865C02

      *1

      INV W/PMP Relay

      Measure the resistance according to the value(s) in the table below.

      Standard Resistance

      Tester Connection

      Condition

      Specified Condition

      3 - 5

      Auxiliary battery voltage is not applied between terminals 1 and 2

      10 kΩ or higher

      Auxiliary battery voltage is applied between terminals 1 and 2

      Below 1 Ω

    3. Install the INV W/PMP relay.

    Result

    Proceed to

    OK

    NG

    NG

    CHECK RELAY HOLDER TERMINAL (INV W/PMP RELAY)Click here

    OK
  21. CHECK HARNESS AND CONNECTOR (INVERTER WATER PUMP ASSEMBLY - NO. 2 ENGINE ROOM RELAY BLOCK AND JUNCTION BLOCK ASSEMBLY)

    1. Remove the INV W/PMP relay from the No. 2 engine room relay block and junction block assembly.

    2. Disconnect the A107 inverter water pump assembly connector.

    3. Measure the resistance according to the value(s) in the table below.

      C299062C05

      *1

      No. 2 Engine Room Relay Block and Junction Block Assembly

      *2

      INV W/PMP relay

      *a

      Front view of wire harness connector

      (to Inverter Water Pump Assembly)

      -

      -

      Standard Resistance

      Tester Connection

      Condition

      Specified Condition

      A107-4 (+BWP) - 3 (INV W/PMP relay)

      Power switch off

      Below 1 Ω

      A107-4 (+BWP) or 3 (INV W/PMP relay) - Body ground and other terminals

      Power switch off

      10 kΩ or higher

      Note:

      Do not apply excessive force when using the probes of the tester to perform the inspection. If excessive force is used, the terminals will be damaged.

    4. Install the INV W/PMP relay.

    5. Reconnect the A107 inverter water pump assembly connector.

    Result

    Proceed to

    OK

    NG

    NG

    REPAIR OR REPLACE HARNESS OR CONNECTOR

    OK
  22. CHECK FUSE (INV W/PMP)

    1. C298832C03

      *1

      Engine Room Relay Block and Junction Block Assembly

      *2

      INV W/PMP Fuse

      Remove the INV W/PMP fuse from the engine room relay block and junction block assembly.

    2. Measure the resistance according to the value(s) in the table below.

      Standard Resistance

      Tester Connection

      Condition

      Specified Condition

      INV W/PMP fuse

      Always

      Below 1 Ω

    3. Install the INV W/PMP fuse.

    Result

    Proceed to

    OK

    NG

    OK

    REPAIR OR REPLACE HARNESS OR CONNECTOR

    NG

    REPLACE INVERTER WATER PUMP ASSEMBLYClick here

  23. INSPECT RELAY (INV W/PMP)

    1. C299060C03

      *1

      No. 2 Engine Room Relay Block and Junction Block Assembly

      *2

      INV W/PMP Relay

      Remove the INV W/PMP relay from the No. 2 engine room relay block and junction block assembly.

    2. A167865C02

      *1

      INV W/PMP Relay

      Measure the resistance according to the value(s) in the table below.

      Standard Resistance

      Tester Connection

      Condition

      Specified Condition

      3 - 5

      Auxiliary battery voltage is not applied between terminals 1 and 2

      10 kΩ or higher

      Auxiliary battery voltage is applied between terminals 1 and 2

      Below 1 Ω

    3. Install the INV W/PMP relay.

    Result

    Proceed to

    OK

    NG

    OK

    CONNECT SECURELY (IGCT NO. 5 FUSE)

    NG

    REPLACE RELAY (INV W/PMP)Click here

  24. CHECK FUSE HOLDER TERMINAL (IGCT NO. 5 FUSE)

    1. Check the terminals of the IGCT NO. 5 fuse holder.

      OK

      The terminals of the IGCT NO. 5 fuse holder are not bent, loose or corroded.

    Result

    Proceed to

    OK

    NG

    OK

    REPLACE FUSE (IGCT NO. 5)

    NG

    REPAIR OR REPLACE HARNESS OR CONNECTORClick here

  25. REPAIR OR REPLACE HARNESS OR CONNECTOR

    1. Repair or replace the terminals of the INV W/PMP relay holder.

    Result

    Proceed to

    NEXT

    NEXT

    REPLACE RELAY (INV W/PMP)

  26. CHECK RELAY HOLDER TERMINAL (INV W/PMP RELAY)

    1. Check the terminals of the INV W/PMP relay holder.

      OK

      The terminals of the INV W/PMP relay holder are not bent, loose or corroded.

    Result

    Proceed to

    OK

    NG

    NG

    CHECK FUSE (IGCT NO. 5)Click here

    OK
  27. CHECK FUSE (IGCT NO. 5 FUSE)

    1. C299063C02

      *1

      No. 2 Engine Room Relay Block and Junction Block Assembly

      *2

      IGCT NO. 5 Fuse

      Remove the IGCT NO. 5 fuse from the No. 2 engine room relay block and junction block assembly.

    2. Measure the resistance according to the value(s) in the table below.

      Standard Resistance

      Tester Connection

      Condition

      Specified Condition

      IGCT NO. 5 fuse

      Always

      Below 1 Ω

    3. Install the IGCT NO. 5 fuse.

    Result

    Proceed to

    OK

    NG

    OK

    REPLACE RELAY (INV W/PMP)

    NG

    REPLACE RELAY (INV W/PMP)Click here

  28. REPLACE INVERTER WATER PUMP ASSEMBLY

    Click here

    Result

    Proceed to

    NEXT

    NEXT

    REPLACE FUSE (INV W/PMP)

  29. REPLACE RELAY (INV W/PMP)

    1. Replace INV W/PMP relay.

    Result

    Proceed to

    NEXT

    NEXT

    CONNECT SECURELY (IGCT NO. 5 FUSE)

  30. REPAIR OR REPLACE HARNESS OR CONNECTOR

    1. Repair or replace the terminals of the IGCT NO. 5 fuse holder.

    Result

    Proceed to

    NEXT

    NEXT

    REPLACE FUSE (IGCT NO. 5)

  31. CHECK FUSE (IGCT NO. 5)

    1. C299063C02

      *1

      No. 2 Engine Room Relay Block and Junction Block Assembly

      *2

      IGCT NO. 5 Fuse

      Remove the IGCT NO. 5 fuse from the No. 2 engine room relay block and junction block assembly.

    2. Measure the resistance according to the value(s) in the table below.

      Standard Resistance

      Tester Connection

      Condition

      Specified Condition

      IGCT NO. 5 fuse

      Always

      Below 1 Ω

    3. Install the IGCT NO. 5 fuse.

    Result

    Proceed to

    OK

    NG

    NG

    REPAIR OR REPLACE HARNESS OR CONNECTORClick here

    OK
  32. REPAIR OR REPLACE HARNESS OR CONNECTOR

    1. Repair or replace the terminals of the INV W/PMP relay holder.

    Result

    Proceed to

    NEXT

    NEXT

    REPLACE RELAY (INV W/PMP)

  33. REPLACE RELAY (INV W/PMP)

    1. Replace INV W/PMP relay.

    Result

    Proceed to

    NEXT

    NEXT

    REPLACE FUSE (IGCT NO. 5)

  34. REPAIR OR REPLACE HARNESS OR CONNECTOR

    1. Repair or replace the terminals of the INV W/PMP relay holder.

    Result

    Proceed to

    NEXT

    NEXT
  35. REPLACE RELAY (INV W/PMP)

    1. Replace INV W/PMP relay.

    Result

    Proceed to

    NEXT

    NEXT

    REPLACE FUSE (IGCT NO. 5)