INTAKE SYSTEM


  1. CONSTRUCTION


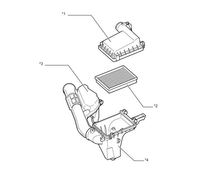
    1. Air Cleaner Assembly


      1. A paper type air cleaner filter element sub-assembly is used.

        A00515ZE03
        Text in Illustration
        *1 Air Cleaner Cap Sub-assembly *2 Air Cleaner Filter Element Sub-assembly
        *3

        No.1 Air Cleaner Inlet

        - Intake Air Resonator

        *4 Air Cleaner Case Sub-assembly
    2. Throttle Body Assembly


      1. A linkless type throttle body assembly, in which the throttle position sensor and the throttle control motor are integrated, is used, realizing excellent throttle valve control.

      2. A DC motor with excellent response and minimal power consumption is used for the throttle control motor. The ECM performs duty ratio control of the direction and the amperage of the current that flows to the throttle control motor in order to regulate the throttle valve angle.

        A0050OKE11
        Text in Illustration
        *1 Throttle Control Motor *2 Throttle Position Sensor
        *3 Throttle Valve *4 Return Spring
    3. Intake Manifold


      1. The intake manifold is made of plastic to reduce its weight and the amount of heat transferred from the cylinder head sub-assembly. As a result, it has become possible to reduce intake air temperature and realize high intake volumetric efficiency.

      2. An EGR chamber is built into the intake manifold in order to uniformly distribute EGR gases to the cylinders.

        A0050NXE04
        Text in Illustration
        *1 Intake Manifold *2 EGR Port
        *3 PCV Port *4 Purge Port
        *5 EGR Chamber - -