СИСТЕМА МОНИТОРА ЗАДНЕГО ВИДА, диагностические DTC:C1681 и C1682

Код DTC Наименование DTC
C1681 Неверный сигнал обратной связи передней телекамеры
C1682 Недопустимый ток передней телекамеры

ОПИСАНИЕ

DTC C1681 сохраняется, когда ЭБУ системы помощи при парковке в результате самодиагностики обнаруживает сбой синхронизации в сигнале изображения, передаваемом передней телекамерой в сборе в ЭБУ системы помощи при парковке.

DTC C1682 сохраняется, когда ЭБУ системы помощи при парковке в результате самодиагностики обнаруживает, что от передней телекамеры в сборе, подключенной к ЭБУ системы помощи при парковке, подается недопустимый ток.

№ DTC

Неисправность

Условие обнаружения DTC

Неисправный участок

C1681

Неверный сигнал обратной связи передней телекамеры

Неисправность источника питания передней телекамеры

  • Жгут проводов или разъем

  • Передняя телекамера в сборе

  • ЭБУ помощи при парковке

C1682

Недопустимый ток передней телекамеры

Обрыв или короткое замыкание в сигнальной цепи передней телекамеры

  • Жгут проводов или разъем

  • Передняя телекамера в сборе

  • ЭБУ системы помощи при парковке

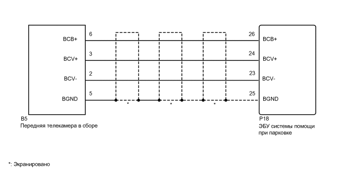
СХЕМА СОЕДИНЕНИЙ

E272328E05

ПРЕДОСТЕРЕЖЕНИЕ / ПРИМЕЧАНИЕ / УКАЗАНИЕ

Note:
  • Если от отрицательного (-) вывода аккумуляторной батареи отсоединялся кабель и на ЭБУ системы помощи при парковке отображается сообщение "System initializing" (Инициализация системы), скорректируйте нейтральное положение рулевого колеса.

    Нажмите здесьЩелкните по следующей ссылке

  • В зависимости от замененных деталей или операций, которые были выполнены при проверке или обслуживании автомобиля, может потребоваться калибровка других систем, а также системы панорамного обзора.

    Нажмите здесьЩелкните по следующей ссылкеЩелкните по следующей ссылке

ПОРЯДОК ВЫПОЛНЕНИЯ

  1. ПРОВЕРЬТЕ DTC

    1. Удалите коды DTC.

      Нажмите здесьЩелкните по следующей ссылке

      Chassis > Panoramic View Monitor > Clear DTCs

    2. Проверьте наличие кодов DTC.

      Нажмите здесьЩелкните по следующей ссылке

      Chassis > Panoramic View Monitor > Trouble Codes

      OK

      Коды DTC C1681 и C1682 не выводятся.

    Result

    Перейти к

    OK

    НЕ СООТВ.

    OK

    ВЫПОЛНИТЕ ПРОВЕРКУ С ИМИТАЦИЕЙ УСЛОВИЙ ВОЗНИКНОВЕНИЯ НЕИСПРАВНОСТИ

    NG
  2. ПРОВЕРЬТЕ ЖГУТ ПРОВОДОВ И РАЗЪЕМ (ЭБУ СИСТЕМЫ ПОМОЩИ ПРИ ПАРКОВКЕ – ПЕРЕДНЯЯ ТЕЛЕКАМЕРА В СБОРЕ)

    1. Отсоедините разъем Р18 ЭБУ системы помощи при парковке.

    2. Отсоедините разъем B5 передней телекамеры.

    3. Измерьте сопротивление в соответствии со значениями, приведенными в таблице ниже.

      Номинальное сопротивление

      Подключение диагностического прибора

      Условие

      Номинальное значение

      P18-26 (BCB+) - B5-6 (BCB+)

      Всегда

      Менее 1 Ом

      P18-24 (BCV+) - B5-3 (BCV+)

      Всегда

      Менее 1 Ом

      P18-23 (BCV-) - B5-2 (BCV-)

      Всегда

      Менее 1 Ом

      P18-25 (BGND) - B5-5 (BGND)

      Всегда

      Менее 1 Ом

      P18-26 (BCB+) или B5-6 (BCB+) - масса

      Всегда

      10 кОм или более

      P18-24 (BCV+) или B5-3 (BCV+) - масса

      Всегда

      10 кОм или более

      P18-23 (BCV-) или B5-2 (BCV-) - масса

      Всегда

      10 кОм или более

      P18-25 (BGND) или B5-5 (BGND) - масса

      Всегда

      10 кОм или более

    Результат

    Перейти к

    OK

    НЕ СООТВ.

    НЕ СООТВ.

    ОТРЕМОНТИРУЙТЕ ИЛИ ЗАМЕНИТЕ ЖГУТ ПРОВОДОВ ИЛИ РАЗЪЕМ

    СООТВ
  3. ПРОВЕРЬТЕ ЭБУ СИСТЕМЫ ПОМОЩИ ПРИ ПАРКОВКЕ (BCB+, BGND)

    1. E272332C11

      *a

      Устройство с подсоединенным жгутом проводов

      (ЭБУ системы помощи при парковке)

      Снимите ЭБУ системы помощи при парковке, не отсоединяя разъем.

    2. Измерьте сопротивление в соответствии со значениями, приведенными в таблице ниже.

      Номинальное сопротивление

      Подключение диагностического прибора

      Условие

      Номинальное значение

      P18-25 (BGND) - масса

      Всегда

      Менее 1 Ом

    3. Измерьте напряжение в соответствии со значениями, приведенными в таблице.

      Номинальное напряжение

      Контакты для подключения диагностического прибора

      Положение переключателя

      Номинальное значение

      P18-26 (BCB+) - P18-25 (BGND)

      Зажигание включено (АСС)

      5,5 - 7,05 В

    Результат

    Перейти к

    OK

    НЕ СООТВ.

    НЕ СООТВ.

    ЗАМЕНИТЕ ЭБУ СИСТЕМЫ ПОМОЩИ ПРИ ПАРКОВКЕ

    СООТВ
  4. ПРОВЕРЬТЕ ПЕРЕДНЮЮ ТЕЛЕКАМЕРУ В СБОРЕ

    1. Снимите ЭБУ системы помощи при парковке, не отсоединяя разъем.

      E272333C11

      *a

      Устройство с подсоединенным жгутом проводов

      (ЭБУ системы помощи при парковке)

      *b

      Осциллограмма 1

      *c

      Осциллограмма 2

      *d

      Сигнал синхронизации

      *e

      Сигнал видеоизображения

      -

      -

    2. С помощью осциллографа проверьте форму сигнала.

      Tip:
      • Разъем передней телекамеры в сборе является водонепроницаемым. Поэтому проверяйте форму сигнала на ЭБУ системы помощи при парковке с подсоединенным разъемом.

      • Форма видеосигнала изменяется в соответствии с изображением, которое передает передняя телекамера в сборе.

      OK

      Форма сигнала соответствует показанной на рисунке.

      Table 1. Условия измерений

      Наименование

      Описание

      Номера контактов (обозначения)

      P18-24 (BCV+) - P18-25 (BGND)

      Настройки прибора

      200 мВ/дел., 50 мкс/дел.

      Условие

      • Осциллограмма 1: Выключатель зажигания включен (IG), комбинированный переключатель № 2 (главный переключатель системы панорамного обзора) включен, объектив камеры не закрыт, выводится изображение

      • Осциллограмма 2: Выключатель зажигания включен (IG), комбинированный переключатель № 2 (главный переключатель системы панорамного обзора) включен, объектив камеры закрыт, экран темный

    Result

    Перейти к

    OK

    НЕ СООТВ.

    OK

    ЗАМЕНИТЕ ЭБУ СИСТЕМЫ ПОМОЩИ ПРИ ПАРКОВКЕ

    NG

    ЗАМЕНИТЕ ПЕРЕДНЮЮ ТЕЛЕКАМЕРУ В СБОРЕ