СИСТЕМА ОБРАБОТКИ И ПЕРЕДАЧИ ИНФОРМАЦИИ (для моделей с приемопередатчиком системы обработки и передачи информации с поддержкой G-BOOK), диагностический DTC:B15CB

Код DTC Наименование DTC
B15CB Отсоединена антенна приемопередатчика системы обработки и передачи информации

ОПИСАНИЕ

Эти DTC сохраняются, если в ходе проверки контактов, выполняемой приемопередатчиком системы обработки и передачи информации каждую минуту после включения питания (ACC), непрерывно в течение 1 мин регистрируется обрыв или короткое замыкание в наружной антенне в сборе.

№ DTC

Неисправность

Условие обнаружения DTC

Неисправный участок

B15CB

Отсоединена антенна приемопередатчика системы обработки и передачи информации

Наружная антенна не подключена, либо в цепи антенны имеется обрыв.

  • Наружная антенна в сборе

  • Антенный шнур № 1 в сборе

  • Антенный шнур № 2 в сборе

  • Антенный шнур № 4 в сборе

  • Приемопередатчик системы обработки и передачи информации

  • ЭБУ системы навигации

  • Радиоприемник в сборе

  • Жгут или разъем

СХЕМА СОЕДИНЕНИЙ

E299832E05

ПРЕДОСТЕРЕЖЕНИЕ / ПРИМЕЧАНИЕ / УКАЗАНИЕ

Note:
  • Проверьте наличие кода DTC B15DB. Если выводится код DTC B15DB, сначала выполните поиск неисправностей для этого кода.

    Нажмите здесьClick here

  • В зависимости от замененных деталей или операций, которые были выполнены при проверке или обслуживании автомобиля, может потребоваться инициализация, регистрация или калибровка. См. раздел "Меры предосторожности при работе с системой G-BOOK".

    Нажмите здесьClick here

  • Приемопередатчик системы обработки и передачи информации следует заменять исключительно новым блоком.

  • Радиоприемник в сборе и ЭБУ системы навигации надлежит заменять только новыми узлами.

    Если для замены будет использован радиоприемник в сборе или ЭБУ системы навигации с другого автомобиля, может произойти следующее:

    • Может быть сохранен DTC нарушения обмена данными.

    • Работа радиоприемника в сборе или ЭБУ системы навигации может быть нарушена.

ПОРЯДОК ВЫПОЛНЕНИЯ

  1. ПРОВЕРЬТЕ, ВЫВОДЯТСЯ ЛИ DTC

    1. Сбросьте коды DTC.

      Нажмите здесьClick here

      Body Electrical > Navigation System > Clear DTCs

    2. Повторно проверьте DTC и убедитесь, что зарегистрированный DTC больше не выводится.

      Нажмите здесьClick here

      Body Electrical > Navigation System > Trouble Codes

    Result

    Result

    Перейдите к

    B1573 или B15CB не выводится.

    A

    B1573 или B15CB выводится.

    B

    A

    ВЫПОЛНИТЕ ПРОВЕРКУ С ИМИТАЦИЕЙ УСЛОВИЙ ВОЗНИКНОВЕНИЯ НЕИСПРАВНОСТИ

    Нажмите здесьClick here

    B
  2. ПРОВЕРЬТЕ НАРУЖНУЮ АНТЕННУ В СБОРЕ

    1. E321996C05

      *a

      Наружная антенна в сборе

      Снимите наружную антенну.

      Нажмите здесьClick here

    2. Измерьте сопротивление в соответствии со значениями, приведенными в таблице ниже.

      Номинальное сопротивление

      Подключение диагностического прибора

      Условие

      Номинальное значение

      2 - 2a

      Всегда

      4 - 11 кОм

    Результат

    Перейти к

    OK

    НЕ СООТВ.

    НЕ СООТВ.

    ЗАМЕНИТЕ НАРУЖНУЮ АНТЕННУ

    Нажмите здесьClick here

    СООТВ
  3. ПРОВЕРЬТЕ ШНУР АНТЕННЫ № 4 В СБОРЕ

    1. E380837C01

      *a

      Вид спереди разъема со стороны жгута проводов:

      (к наружной антенне)

      *b

      Вид спереди разъема со стороны жгута проводов:

      (к антенному шнуру № 2 в сборе)

      Отсоедините разъем антенны от разъема наружной антенны.

    2. Отсоедините разъем антенны от разъема шнура антенны № 2 в сборе.

    3. Измерьте сопротивление в соответствии со значениями, приведенными в таблице ниже.

      Номинальное сопротивление

      Подключение диагностического прибора

      Условие

      Номинальное значение

      A-2 - B-1

      Всегда

      Менее 1 Ом

      A-2a - B-1a

      Всегда

      Менее 1 Ом

      A-2 - масса

      Всегда

      10 кОм или более

      A-2a - масса

      Всегда

      10 кОм или более

    Результат

    Перейти к

    OK

    НЕ СООТВ.

    НЕ СООТВ.

    ЗАМЕНИТЕ АНТЕННЫЙ ШНУР № 4 В СБОРЕ

    Нажмите здесьClick hereClick here

    СООТВ
  4. ПРОВЕРЬТЕ ШНУР АНТЕННЫ № 2 В СБОРЕ

    1. E299834C01

      *a

      Вид спереди разъема со стороны жгута проводов:

      (к антенному шнуру № 4 в сборе)

      *b

      Вид спереди разъема со стороны жгута проводов:

      (к антенному шнуру № 1 в сборе)

      Отсоедините разъем антенны от разъема шнура антенны № 4 в сборе.

    2. Отсоедините разъем антенны от разъема шнура антенны № 1 в сборе.

    3. Измерьте сопротивление в соответствии со значениями, приведенными в таблице ниже.

      Номинальное сопротивление

      Подключение диагностического прибора

      Условие

      Номинальное значение

      B-1 - C-2

      Всегда

      Менее 1 Ом

      B-1a - C-2a

      Всегда

      Менее 1 Ом

      B-1 - масса

      Всегда

      10 кОм или более

      B-1a - масса

      Всегда

      10 кОм или более

    Результат

    Перейти к

    OK

    НЕ СООТВ.

    НЕ СООТВ.

    ЗАМЕНИТЕ ШНУР АНТЕННЫ № 2

    Нажмите здесьClick hereClick here

    СООТВ
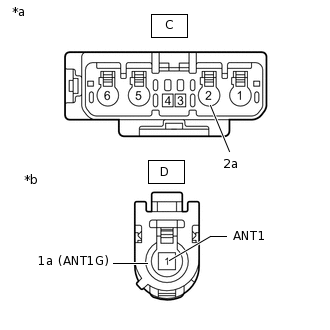
  5. ПРОВЕРЬТЕ ШНУР АНТЕННЫ № 1 В СБОРЕ

    1. E299835C03

      *a

      Вид спереди разъема со стороны жгута проводов:

      (к антенному шнуру № 2 в сборе)

      *b

      Вид спереди разъема со стороны жгута проводов:

      (к приемопередатчику системы обработки и передачи информации)

      Отсоедините разъем антенны от разъема шнура антенны № 2 в сборе.

    2. Отсоедините разъем антенны от разъема приемопередатчика системы обработки и передачи информации.

    3. Измерьте сопротивление в соответствии со значениями, приведенными в таблице.

      Номинальное сопротивление

      Подключение диагностического прибора

      Условие

      Заданные условия

      C-2 - D-1 (ANT1)

      Всегда

      Менее 1 Ом

      C-2a - D-1a (ANT1G)

      Всегда

      Менее 1 Ом

      C-2 - масса

      Всегда

      10 кОм или более

      C-2a - масса

      Всегда

      10 кОм или более

    Результат

    Перейти к

    OK

    НЕ СООТВ.

    НЕ СООТВ.

    ЗАМЕНИТЕ ШНУР АНТЕННЫ № 1

    Нажмите здесьClick hereClick here

    OK
  6. ЗАМЕНИТЕ ПРИЕМОПЕРЕДАТЧИК СИСТЕМЫ ОБРАБОТКИ И ПЕРЕДАЧИ ИНФОРМАЦИИ

    1. Замените приемопередатчик системы обработки и передачи информации новым.

      Нажмите здесьClick here

    Результат

    Перейти к

    СЛЕДУЮЩЕЕ -

    СЛЕДУЮЩЕЕ -
  7. ПРОВЕРЬТЕ, ВЫВОДЯТСЯ ЛИ DTC

    1. Сбросьте коды DTC.

      Нажмите здесьClick here

      Body Electrical > Navigation System > Clear DTCs

    2. Повторно проверьте DTC и убедитесь, что зарегистрированный DTC больше не выводится.

      Нажмите здесьClick here

      Body Electrical > Navigation System > Trouble Codes

    Result

    Result

    Перейдите к

    B1573 или B15CB не выводится.

    A

    B1573 или B15CB выводится.

    B

    A

    КОНЕЦ (ПРИЕМОПЕРЕДАТЧИК СИСТЕМЫ ОБРАБОТКИ И ПЕРЕДАЧИ ИНФОРМАЦИИ НЕИСПРАВЕН)

    B
  8. ЗАМЕНИТЕ ЭБУ СИСТЕМЫ НАВИГАЦИИ

    1. Замените ЭБУ системы навигации новым блоком.

      Нажмите здесьClick here

    Результат

    Перейти к

    СЛЕДУЮЩЕЕ -

    СЛЕДУЮЩЕЕ -
  9. ПРОВЕРЬТЕ, ВЫВОДЯТСЯ ЛИ DTC

    1. Сбросьте коды DTC.

      Нажмите здесьClick here

      Body Electrical > Navigation System > Clear DTCs

    2. Повторно проверьте DTC и убедитесь, что зарегистрированный DTC больше не выводится.

      Нажмите здесьClick here

      Body Electrical > Navigation System > Trouble Codes

    Result

    Result

    Перейдите к

    B1573 или B15CB не выводится.

    A

    B1573 или B15CB выводится.

    B

    A

    КОНЕЦ (ЭБУ СИСТЕМЫ НАВИГАЦИИ НЕИСПРАВЕН)

    B

    ЗАМЕНИТЕ РАДИОПРИЕМНИК В СБОРЕ

    Нажмите здесьClick here