FRONT SIDE MEMBER ASSEMBLY REPLACEMENT (PATTERN 1)



  1. REMOVAL

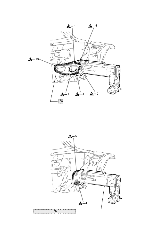
    Symbol meaning
    A004L9C Remove Weld Points
    A004L2L Remove Weld Points
    A004L0A Cut with Disk Sander etc.

      REMOVAL POINT

    1. After removing the front side member reinforcement No.1, remove the front side member sub-assembly.

    A004L70E02
    *a FRONT SIDE MEMBER REINFORCEMENT NO.1
    *b FRONT SIDE MEMBER SUB-ASSEMBLY
    A004L06
  2. INSTALLATION

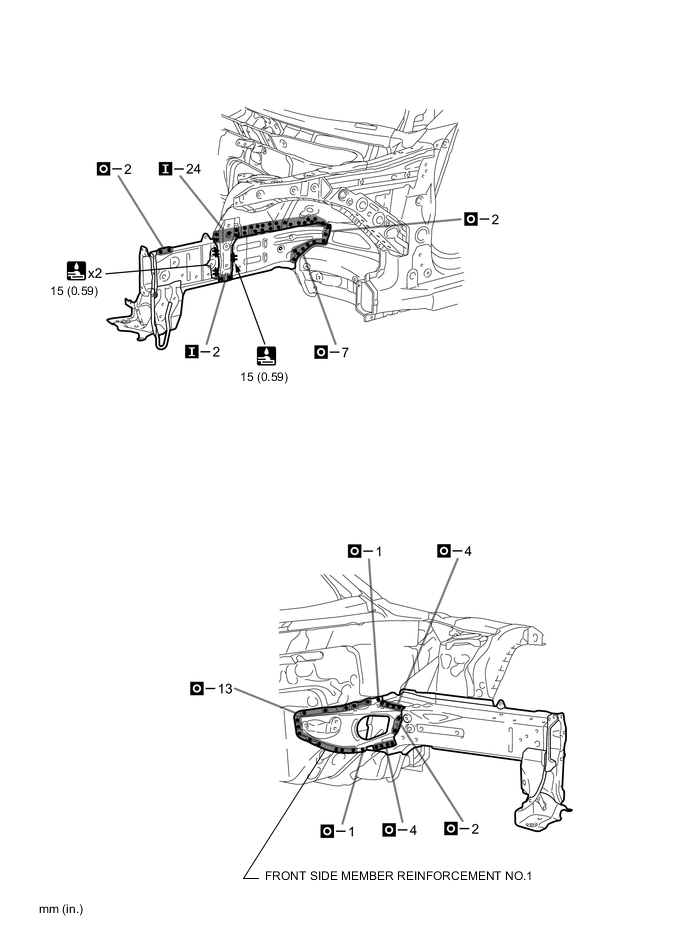
    Symbol meaning
    A004L4Z Plug Weld
    A004L6I Plug Weld
    A004L1P Fillet Weld

      INSTALLATION POINT

    1. Temporarily install the new parts and measure each part of the new parts in accordance with the body dimension diagram. (See the body dimensions)

    2. After welding the front side member sub-assembly to the vehicle side, install the front side member reinforcement No.1.

    3. Make sure to attach correctly in accordance with the body dimension diagram as this part affects the front wheel alignment.

    4. After welding, apply body sealer and undercoating to the corresponding parts. (See the painting / coating)

    5. After applying the top coat, apply anti-rust agent to the internal panel portion of the closed section structural weld points.

    A004L62E01
    *1 FRONT SIDE MEMBER SUB-ASSEMBLY
    A004L7UE01