FRONT SIDE MEMBER CUT AND JOIN REPLACEMENT SECTIONS (SMALL AREAS)



  1. REMOVAL

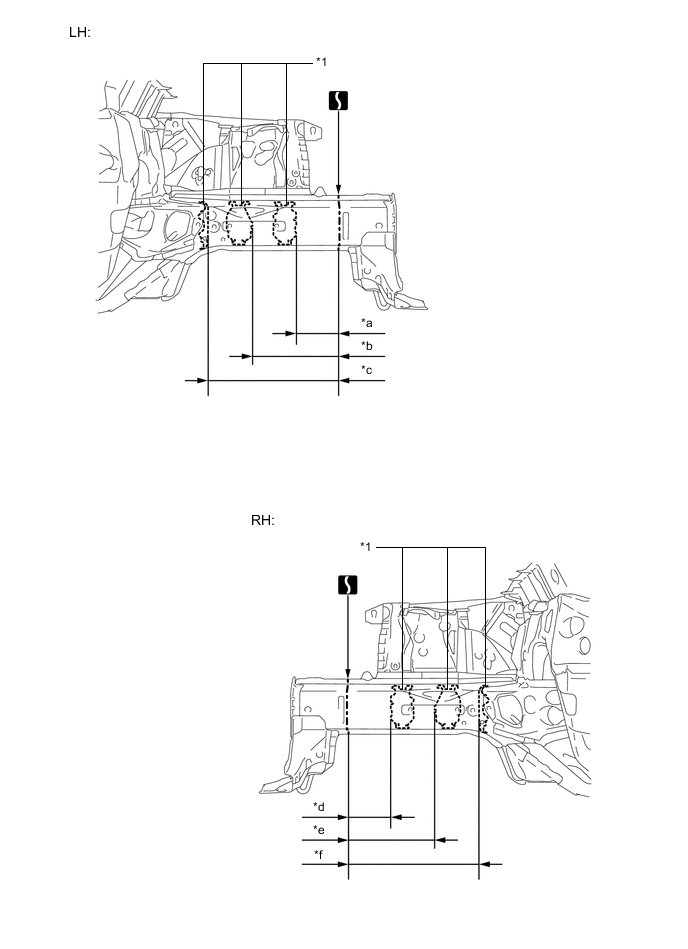
    Symbol meaning
    A004L9C Remove Weld Points
    A004L8V Cut and Join Location

      REMOVAL POINT

    1. Carefully cut the member so not to damage *1.

      Reference Value
      Area Measurement Area Measurement
      *a 135 mm (5.31 in.) *b 271 mm (10.67 in.)
      *c 410 mm (16.14 in.) *d 135 mm (5.31 in.)
      *e 271 mm (10.67 in.) *f 410 mm (16.14 in.)
    A004L3UE02
    A004L9YE02
  2. INSTALLATION

    Symbol meaning
    A004L4Z Plug Weld
    A004L9D Butt Weld

      INSTALLATION POINT

    1. Temporarily install the new parts and measure each part of the new parts in accordance with the body dimension diagram. (See the body dimensions)

    2. After welding, apply body sealer and undercoating to the corresponding parts. (See the painting / coating)

    3. After applying the top coat, apply anti-rust agent to the internal panel portion of the closed section structural weld points.

    A004L4TE01
    *1 FRONT SIDE MEMBER SUB-ASSEMBLY INNER
    *2 FRONT SIDE MEMBER PLATE OUTER