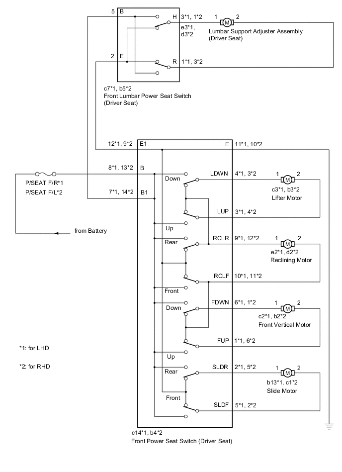
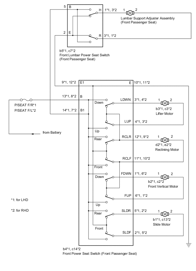
FRONT POWER SEAT CONTROL SYSTEM(w/o Memory) SYSTEM DIAGRAM


  1. for Driver Seat

    A01R8OGE03
  2. for Front Passenger Seat

    A01R8OGE04