DYNAMIC RADAR CRUISE CONTROL SYSTEM


  1. FUNCTION OF MAIN COMPONENTS


    1. The main components in the dynamic radar cruise control system have the following functions:

      Component Function
      Cruise Control Main Switch ON-OFF Button Turns the cruise control system on and off.
      MODE Switch Switches between constant speed control mode and vehicle-to-vehicle distance control mode.
      CANCEL Switch A cancel signal is output to the driving support ECU assembly when this switch is operated.
      +RES Switch Acceleration and resuming of a preset speed can be performed by operating this switch. A signal is output to the driving support ECU assembly when this switch is operated.
      -SET Switch Deceleration function is operated and vehicle speed setting signals are output to the driving support ECU assembly when this switch is operated.
      Steering Pad Switch Assembly Distance Control Switch While the system is in vehicle-to-vehicle distance control mode, the driver can operate the distance control switch to select the vehicle-to-vehicle distance in 3 levels: long, middle and short.
      ECM
      • Increases and decreases the motive force in accordance with the motive force request signals transmitted by the driving support ECU assembly.

      • Transmits the information about motive force that is actually generated and can be generated to the driving support ECU assembly.

      Stop Light Switch Assembly Detects the depression of the brake pedal and transmits a signal to the driving support ECU assembly.
      Millimeter Wave Radar Sensor Assembly
      • Radiates millimeter radar waves forward, uses the reflected waves to detect the presence of a vehicle traveling ahead, the vehicle-to-vehicle distance, and the relative speed, and then transmits this information to the driving support ECU assembly.

      • Sounds the skid control buzzer assembly according to signals from the driving support ECU assembly.

      Driving Support ECU Assembly
      • Calculates the motive force required to achieve the target vehicle speed/target vehicle-to-vehicle distance based on signals from switches, sensors and ECUs and transmits motive force request signals to the ECM (to accelerate the vehicle in accordance with the motive force request) and the skid control ECU (to decelerate the vehicle in accordance with the motive force request).

      • Determines the presence of a preceding vehicle based on information from the millimeter wave radar sensor assembly.

      • Transmits control status display request signals, warning display request signals and diagnosis signals for the dynamic radar cruise control system.

      Combination Meter Assembly Radar Cruise Control Indicator Light (Constant Speed Control Mode)
      • Based on a radar cruise control indicator light operation signal sent by the driving support ECU assembly, the combination meter assembly illuminates the radar cruise control indicator light when the cruise control system has been turned on using the ON-OFF button on the cruise control main switch and constant speed control mode has been selected.

      • Based on a radar cruise control indicator light operation signal sent by the driving support ECU assembly, the combination meter assembly turns off the radar cruise control indicator light if a malfunction occurs in the cruise control system.

      Radar Cruise Control Indicator Light (Vehicle-to-vehicle Distance Control Mode)
      • Based on a radar cruise control indicator light operation signal sent by the driving support ECU assembly, the combination meter assembly illuminates the radar cruise control indicator light when the cruise control system has been turned on using the ON-OFF button on the cruise control main switch.

      • Based on a radar cruise control indicator light operation signal sent by the driving support ECU assembly, the combination meter assembly turns off the radar cruise control indicator light if a malfunction occurs in the cruise control system.

      Cruise Control SET Indicator Light Illuminates when the vehicle speed is set.
      Multi Buzzer If the driving support ECU assembly detects automatic cancel or warning signals while the vehicle is operating under cruise control, this buzzer sounds to inform the driver.
      Multi-information Display During dynamic radar cruise control operation, the multi-information display receives signals from the driving support ECU assembly in order to display the system conditions.
      Steering Sensor Detects the angle and direction of steering and transmits signals to the driving support ECU assembly.
      Airbag ECU Assembly Detects the yaw rate of the vehicle and transmits signals to the driving support ECU assembly.

      Brake Actuator Assembly


      • Skid Control ECU


      • Actuates the brakes in accordance with the signals from the skid control ECU assembly.

      • Performs brake control in accordance with motive force request signals from the driving support ECU assembly while the system is operating in vehicle-to-vehicle distance control mode.

      • Transmits signals such as a wheel speed and estimated vehicle acceleration to the driving support ECU assembly.

      • Keeps the vehicle stopped through the brake hold function upon receiving a stop retention signal from the driving support ECU assembly.

      Throttle Body with Motor Assembly Throttle Control Motor Adjusts the throttle valve opening angle in accordance with signals from the ECM.
      Throttle Position Sensor Detects the throttle valve opening angle and outputs it to the ECM.
      Skid Control Buzzer Assembly Sounds a buzzer when it receives a signal from the millimeter wave radar sensor assembly to alert the driver that the distance between vehicles is short.
      Accelerator Pedal Sensor Assembly Detects the accelerator pedal depression degree and outputs it to the ECM.
      Parking Brake ECU Assembly During stop retention control, when this ECU detects that the vehicle is parked through a driver side courtesy light switch signal or driver side seat belt buckle switch signal, or an electric parking brake switch assembly signal is input, the ECU operates the parking brake, then the system control is canceled.
      Integration Control and Panel Assembly Parking Brake Switch Outputs a parking brake application signal to the electric parking brake ECU assembly.
      Speed Sensor Detects the wheel speed and transmits signals to the skid control ECU.
      Park/Neutral Position Switch Assembly Converts the shift position into an electrical signal and outputs it to the ECM.
      VSC OFF Switch Detects the VSC OFF signal and outputs it to the skid control ECU.
      Transmission Floor Shift Assembly Transmission Control Switch While the vehicle is being driven in M mode, this switch outputs a signal to the ECM when the shift lever is moved toward "+" or "-".
      Transmission Shift Switch Assembly*1 While the vehicle is being driven in D mode or M mode, this switch outputs a signal to the ECM when the switch is pulled to "+" or "-".
      Engine Stop and Start ECU*2 Sends either an engine stop or restart signal to the ECM according to the signals from each sensor and switch.

      • *1: Models with shift paddle

      • *2: Models with stop and start system

  2. SYSTEM CONTROL


    1. The driving support ECU assembly, millimeter wave radar sensor assembly and ECM control this system.

    2. The combination meter assembly informs the driver of the control conditions.

    3. Constant speed control mode is controlled by the ECM, which outputs signals to the throttle control motor.

    4. Vehicle-to-vehicle distance control mode is controlled by the millimeter wave radar sensor assembly and driving support ECU assembly. Thus, the signals are output to the actuators and the ECU while exchanging data as indicated below.

      A01GGA1E04
      *1 Millimeter Wave Radar Sensor Assembly
      *2 Driving Support ECU Assembly
      *3 CAN (Local Bus)
      *4 CAN (Sub Bus 2)
  3. FUNCTION


    1. Control of Dynamic Radar Cruise Control System Varies Depending on Mode


      • A: Constant speed control mode

      • B: Vehicle-to-vehicle distance control mode

      • C: Vehicle-to-vehicle distance control mode (models with full-speed range following function)

      Function Outline Mode
      A B C
      Constant Speed Control Controls the motive force through the driving support ECU assembly via the ECM and the skid control ECU in order to adjust the vehicle speed to the set speed.
      Deceleration Control Effects engine and brake control in order to decelerate the vehicle so that the vehicle-to-vehicle distance between this vehicle and the vehicle ahead equals the set distance. -
      Follow-up Control After effecting deceleration control, the vehicle follows the vehicle ahead in order to maintain the proper vehicle-to-vehicle distance in accordance with the vehicle speed. -
      Acceleration Control Accelerates the vehicle in order to attain the set vehicle speed if the vehicle ahead or this vehicle has changed lanes. -
      Stop Control Detects if the vehicle ahead has stopped, performs motive force control and stops the vehicle while maintaining proper vehicle-to-vehicle distance. - -
      Stop Retention Control Judges if the vehicle is stopped, performs brake control and keeps the vehicle stopped through the brake hold function. - -
      Start Control Detects that the vehicle ahead starts moving again, displays the message on the multi-information display to urge the driver to perform the start-off operation (to operate the cruise control main switch or depress the accelerator pedal), and resumes follow-up control after the vehicle is started. - -
      Set Control

      While this system fulfills the following conditions and the cruise control main switch is pressed to the -SET side and released, the driving support ECU assembly stores the vehicle speed, illuminates the cruise control SET indicator light on the multi-information display and maintains the vehicle constantly at that speed.


      • The ON-OFF button on the cruise control main switch assembly is pressed.


      • The vehicle is running at a vehicle speed of approx. 50 km/h to 200 km/h (31 mph to 125 mph) or more.

      - -

      • The vehicle is running between approx. 50 km/h and 170 km/h (31 mph and 105 mph). When there is a preceding vehicle, the set speed is kept at approx. 50 km/h [31 mph] even if the vehicle is being driven below that speed.

      -
      Low Speed Limit Control The low speed limit is approx. 40 km/h (25 mph). If the vehicle speed drops below that speed while running under the cruise control, the cruise control will be canceled automatically. It is not canceled when the vehicle is running in mode B and there is a vehicle ahead. However, the set vehicle speed in the memory is kept. -
      COAST (-) Switch Control While the cruise control main switch is held to the -SET side, the vehicle speed and the set vehicle speed change in accordance with the mode as follows:

      • The vehicle decelerates constantly.

      • The set vehicle speed changes to the speed at which the switch is released.

      - -

      • The vehicle setting speed decreases in increments 5 km/h or 5 mph. [Example: 57 → 55 → 50 km/h, 57 → 55 → 50 mph]

      • The vehicle remains at the speed that the vehicle is traveling at when the cruise control main switch is released.

      -
      Tap-down Control When the cruise control main switch is pushed momentarily (approx. 0.6 sec.) to the -SET side, the vehicle speed and the vehicle setting speed change in accordance with the mode as follows:

      • The vehicle decelerates in increments of approx. 5 km/h (5 mph) for each time the switch is pressed. [Example: 57 → 55 → 50 km/h, 57 → 55 → 50 mph]*1

      • The vehicle decelerates in increments of approx. 1 km/h (1 mph) for each time the switch is pressed. [Example: 57 → 56 → 55 km/h, 57 → 56 → 55 mph]*2

      -

      • The vehicle decelerates in increments of approx. 1.6 km/h (1 mph) for each time the switch is pressed. However, if the difference between the actual vehicle speed and the vehicle setting speed is greater than 5 km/h or 5 mph, the set vehicle speed changes to the speed at which the vehicle was being driven at the time the switch was operated.

      - -
      ACC (+) Switch Control When the cruise control main switch is pushed to the +RES side and held, the vehicle speed and the vehicle setting speed change as follows, in accordance with the mode.

      • The vehicle accelerates constantly.

      • The set vehicle speed changes to the speed at which the switch is released.

      - -

      • The vehicle setting speed increases in increments 5 km/h or 5 mph. [Example: 52 → 55 → 60 km/h, 52 → 55 → 60 mph]

      • The vehicle will accelerate to the speed that is set at the time the switch is released.

      However, only the vehicle setting speed will change during follow-up control.

      -
      Tap-up Control When the cruise control main switch is pushed momentarily (approx. 0.6 sec.) to the +RES side, the vehicle speed and the vehicle setting speed change in accordance with the mode as follows:

      • The vehicle accelerates in increments of approx. 5 km/h (5 mph) for each time the switch is pressed. [Example: 52 → 55 → 60 km/h, 52 → 55 → 60 mph]*1

      • The vehicle accelerates in increments of approx. 1 km/h (1 mph) for each time the switch is pressed. [Example: 52 → 53 → 54 km/h, 52 → 53 → 54 mph]*2

      -

      • The vehicle accelerates in increments of approx. 1.6 km/h (1 mph) for each time the switch is pressed. However, if the difference between the actual vehicle speed and the vehicle setting speed is greater than 5 km/h or 5 mph, the vehicle setting speed changes to the speed at which the vehicle was being driven at the time the switch was operated.

      - -
      RES Switch Control If the vehicle speed is above the low speed limit, the cruise control resumes operation (subsequently pushes the cruise control main switch assembly to the +RES side) to reach the vehicle speed that was set at the time the driver canceled cruise control.
      Even if the vehicle speed drops below the low speed limit, resumption can be performed when the vehicle speed increases to above the low speed limit. However, resumption can be performed even if the vehicle speed is below the low speed limit when the vehicle is running in mode B and there is a vehicle ahead. - -
      If the vehicle ahead changes driving lanes during follow-up control, the vehicle speed is gradually increased to the set vehicle speed. At this time, the vehicle speed can be increased promptly by pushing the cruise control main switch to the +RES side. -
      After the vehicle ahead has started running again under stop retention control and then the message that urges the driver to perform the start-off operation has been displayed, when the cruise control main switch is pushed to the +RES side, follow-up control is resumed and the vehicle can be accelerated up to the set speed. - -
      Manual Cancel Control

      If any of the following signals are sent to the driving support ECU assembly, the cruise control is canceled accordingly:


      • Stop light switch assembly is turned on other than under stop retention control (brake pedal is depressed).

      • Shift lever is moved from D to other position.

      • When D1, D2 or D3 range is selected.*3

      • CANCEL switch on signal (cruise control main switch is moved to CANCEL side)

      • Cruise control main switch (ON-OFF button) off signal

      • Parking brake is applied (only during vehicle-to-vehicle distance control mode).

      Automatic Cancel Control

      When an automatic cancel signal is sent to the driving support ECU assembly, the cruise control operation is canceled. At this time, the style of the warning to the driverand the control resumption condition varies in accordance with the cancel signal.


      • Actual vehicle speed falls below approximately 40 km/h (25 mph) when there are no vehicles ahead.

      • The preceding vehicle leaves the lane when your vehicle is following at a vehicle speed below 40 km/h (25 mph). Otherwise, the sensor can not properly detect the vehicle.

      • VSC is activated

      • TRAC is activated for a period of time.

      • When the VSC or TRAC system is turned off by pressing the VSC OFF switch.

      • The sensor cannot detect correctly because it is covered in some way.

      • The windshield wipers are operating at high speed (when the wiper switch is set to the "AUTO" mode or the high speed wiper operation position).

      • Pre-collision braking is activated.

      Mode Switching Control
      • The following operations switch the modes:


        • 1. ON-OFF button on the cruise control main switch is on. (Starts in the vehicle-to-vehicle distance control mode)

        • 2. Cruise control main switch is held in the MODE side. (Approx. 1 second or more)

      • If the switch is pushed to any other side before switching modes, switch the cruise control system off; then, perform steps 1. and 2. again.

      Other Control Cancellation Conditions

      If any of the following conditions occur during cruise control driving, the cruise control is canceled.

      However, the set speed remains in the memory:


      • VSC operates during cruise control driving.

      • TRC operates for a certain period of time during cruise control driving.

      • TRC is off or VSC is off.

      Tech Tips

      ○: Available

      -: Not available

      *1: Models for Europe

      *2: Except models for Europe

      *3: Models with shift paddle

    2. Constant Speed Control Mode


      1. The driving support ECU assembly compares the actual vehicle speed (wheel speed signal from the skid control ECU) with the set speed under constant speed control in each control mode. When the actual vehicle speed differs from the set speed, the driving support ECU assembly calculates the motive force required to achieve the set speed and transmits motive force request signals to the ECM, thus controlling the motive force optimally and adjusting the vehicle speed to the set speed.

        A01GGHHE01
    3. Vehicle-to-vehicle Distance Control Mode


      • In vehicle-to-vehicle distance control mode, the driving support ECU assembly performs deceleration control function, follow-up control function, acceleration control function, stop control function*, stop retention control function* or start control function* based on the information about the vehicle ahead transmitted from the millimeter wave radar sensor assembly


        • *: Models with full-speed range following function


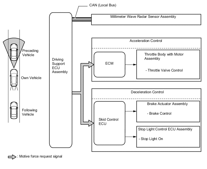
      1. Deceleration Control Function


        • The driving support ECU assembly calculates the target deceleration rate in accordance with signals from the millimeter wave radar sensor assembly, and transmits a motive force request signal to the ECM and the skid control ECU. Upon receiving this signal, these ECUs control the motive force and decelerate the vehicle

        • This control is not performed in the presence of a parked vehicle or object.

          A01GGCJE01
        • When the driving support ECU assembly determines that further deceleration is necessary, it transmits a motive force request signal to the skid control ECU assembly. Upon receiving this signal, the skid control ECU assembly then activates the brake actuator assembly to apply the brakes

        • At this time, if the deceleration rate is higher than a predetermined value, the skid control ECU outputs a stop light illumination request signal in order to inform anyone who might be following the vehicle.

          A01GH0PE01
        • If the vehicle is not decelerating adequately, the skid control ECU sounds the skid control buzzer assembly based on the request signal from the driving support ECU assembly to urge the driver to depress the brake pedal.

          A01GGEYE01
      2. Follow-up Control Function


        • Under follow-up control, the driving support ECU assembly transmits a motive force request signal to the ECM and the skid control ECU, so that the vehicle can follow the vehicle ahead while maintaining a proper vehicle-to-vehicle distance in accordance with the vehicle speed. Upon receiving this signal, these ECUs control the motive force in order to effect follow-up control.

        • 3 stages (long, middle and short) of vehicle-to-vehicle distance can be selected by operating the distance control switch.

          A01GGWNE01
      3. Acceleration Control Function


        • When the vehicle is running at approximately 50 km/h (31 mph) or more, if the driving support ECU assembly detects that either the vehicle ahead or the driver's own vehicle has changed lanes, a motive force signal is transmitted to the ECM in order to attain the set vehicle speed. Upon receiving this signal, the ECM controls the motive force in order to perform acceleration control.

          A01GGD8E01
      4. Stop Control Function (Models with Full-speed Range Following Function)


        • The driving support ECU assembly detects if the vehicle ahead stops through the signals from the millimeter wave radar sensor assembly and calculates the motive force required to stop the driver's own vehicle while maintaining the appropriate vehicle-to-vehicle distance. The ECU then transmits the motive force request signals to the ECM and the skid control ECU. Upon receiving this signal, these ECUs control the motive force and stop the vehicle.

        • At this time, the skid control ECU outputs a stop light illumination request signal in order to inform anyone who might be following the vehicle.

        • The distance between the driver's own vehicle and the preceding vehicle when the vehicles are stopped is set to approximately 3 m to 6 m (10 ft. to 20 ft.) regardless of the vehicle-to-vehicle distance preset by using the distance control switch.

          A01GG8TE01
      5. Stop Retention Control Function (Models with Full-speed Range Following Function)


        • After the vehicle has stopped under stop control, the driving support ECU assembly transmits a stop retention request signal to the skid control ECU. Upon receiving this signal, the skid control ECU activates the brake hold function and keeps the vehicle stopped.

        • When the vehicle is stopped by brake hold function, the idle stop control may occur by stop and start system.

          A01GGN6E01
      6. Start Control Function (Models with Full-speed Range Following Function)


        • When the driving support ECU assembly detects that the vehicle ahead starts moving again from the millimeter wave radar sensor assembly signal, it displays the messages "PRECEDING VEHICLE MOVEMENT" and "Operate Cruise Lever or Accelerator Pedal to Resume" on the multi-information display to urge the driver to perform the start-off operation (to push the cruise control main switch to the +RES side or to depress the accelerator pedal).

        • Upon receiving the start-off operation signal generated by pushing the cruise control main switch assembly to the +RES side or by depressing the accelerator pedal, the driving support ECU assembly transmits a motive force request signal to the ECM. Upon receiving this signal, the ECM controls the motive force, starts the vehicle and resumes follow-up control.

        • During idle stop status, engine starts automatically when the ECU detects the movement of preceding vehicle.

          A01GGWPE01
      7. Automatic Cancel Control


        • When any of the conditions listed below occur while the vehicle is in cruise control, the cruise control is canceled. Then, the following warnings appear for the driver.

          Constant Speed Control Mode
          Description of Malfunction Warning
          Multi-information Display Master Warning Light Multi Buzzer Radar Cruise Control Indicator Light

          If either of the conditions listed below occur, the driving support ECU assembly clears the vehicle setting speed and cancels the cruise control:


          • Stop light switch open or short circuit

          The cruise control is disabled until the conditions are corrected or the cruise control system is turned off and back on again using the ON-OFF button on the cruise control main switch.

          Cruise Control Malfunction Visit Your Dealer Illuminates - -

          If the condition listed below occurs, the driving support ECU assembly clears the set vehicle speed and cancels speed control by the cruise control system.


          • Malfunction in the engine control system

          The cruise control is disabled until the condition is corrected or the cruise control system is turned off and back on again using the ON-OFF button on the cruise control main switch.

          - - - -

          If the following condition occurs, the driving support ECU assembly clears the set vehicle speed and cancels the cruise control.


          • The vehicle speed drops more than 16 km/h (10 mph) below the set vehicle speed

          - - - Illuminates

          If the condition listed below occurs, the driving support ECU assembly cancels speed control by the cruise control system while retaining the set vehicle speed in its memory.


          • The vehicle speed drops below low speed limit (approximately 40 km/h [25 mph])

          - - - Illuminates
          Vehicle-to-vehicle Distance Control Mode
          Description of Malfunction Warning
          Multi-information Display Master Warning Light Multi Buzzer Radar Cruise Control Indicator Light

          If the condition listed below occurs, the driving support ECU assembly clears the set vehicle speed and cancels speed control by the cruise control system.


          • Stop light switch open or short circuit

          The cruise control is disabled until the condition is corrected or the cruise control system is turned off and back on again using the ON-OFF button on the cruise control main switch.

          Cruise Control Malfunction Visit Your Dealer Illuminates Sounds Once -

          If any of the conditions listed below occur, the driving support ECU assembly clears the set vehicle speed and cancels speed control by the cruise control system.


          • Malfunction of the millimeter wave radar sensor assembly

          • Misalignment of the axis of the millimeter wave radar sensor assembly

          • Malfunction in the dynamic radar cruise control system other than those given above

          The cruise control is disabled until the engine switch is turned on (IG) again.

          Cruise Control Malfunction Visit Your Dealer Illuminates Sounds Once -

          If the condition listed below occurs, the driving support ECU assembly clears the set vehicle speed and cancels speed control by the cruise control system.


          • Malfunction in the engine control system

          The cruise control is disabled until the condition is corrected or the cruise control system is turned off and back on again using the ON-OFF button on the cruise control main switch.

          - - - -

          If the condition listed below occurs, the driving support ECU assembly cancels speed control by the cruise control system while retaining the set vehicle speed in its memory.


          • The millimeter wave radar sensor assembly is dirty

          The cruise control is disabled until the condition is corrected or the cruise control system is turned off and back on again using the ON-OFF button on the cruise control main switch.

          Radar Cruise Control Unavailable Clean Radar Sensor Illuminates Sounds Once -

          If either of the conditions listed below occurs, the driving support ECU assembly cancels speed control by the cruise control system while retaining the set vehicle speed in its memory.


          • The wipers operate at HI speed

          • The measurement becomes extremely unstable due to poor weather conditions

          The cruise control is disabled until the condition is corrected or the cruise control system is turned off and back on again using the ON-OFF button on the cruise control main switch.

          Radar Cruise Control Unavailable Illuminates Sounds Once -

          If the condition listed below occurs, the driving support ECU assembly cancels speed control by the cruise control system while retaining the set vehicle speed in its memory.


          • The vehicle speed drops below the low speed limit (approximately 40 km/h [25 mph])

          - - Sounds Once Illuminates
  4. DIAGNOSIS


    1. If a malfunction occurs in the dynamic radar cruise control system during cruise control operation, the driving support ECU assembly cancels cruise control operation, illuminates the master warning light and turns off the cruise control indicator light (constant speed control mode) or cruise control indicator light (vehicle-to-vehicle distance control mode), and cruise control SET indicator light. Also, "Cruise Control Malfunction Visit Your Dealer" is displayed on the multi-information display to inform the driver of a malfunction. At the same time, the malfunction is stored in memory as a 5-digit Diagnostic Trouble Code (DTC).

    2. The DTC can be read when the Global TechStream (GTS) is connected to the DLC3. For details, refer to the Repair Manual.