SFI SYSTEM(w/o EGR System) Rough Idling

DTC Code DTC Name
Rough Idling

DESCRIPTION

Problem Symptom

Suspected Area

Trouble Area

  • Engine speed fluctuation due to abnormal combustion

  • Idle speed too low or high

Strong engine vibration due to above symptoms

  • Ignition malfunction

  • Deviation in air fuel ratio (Excessive or insufficient intake air volume or fuel supply)

  • Insufficient compression

Ignition system

  • Spark plug

  • Ignition coil assembly

Fuel system

  • Fuel injector assembly

  • Fuel pump

  • Fuel pump control circuit

  • Fuel line

  • Purge VSV system

  • Fuel quality (existence of foreign matter, degradation)

Intake and exhaust systems

  • Mass air flow meter sub-assembly

  • Intake system

    (Air leaks or deposit accumulation)

  • Throttle body assembly

  • Air fuel ratio sensor

  • Heated oxygen sensor

  • Camshaft timing oil control assembly

  • Variable Valve Timing system (VVT system)

Other control systems

  • ECM

  • Wire harness or connector

  • Knock control sensor

  • Engine coolant temperature sensor

Engine

  • Thermostat

  • Engine assembly

  • Engine mount

Tip:
  • If any other DTCs are output, perform troubleshooting for those DTCs first.

  • Make sure to reproduce the conditions present when the malfunction occurred.

  • Using the GTS, read the Data List to confirm the engine operating conditions. This information can be useful when troubleshooting.

  • If the problem symptoms do not recur, attempt to reproduce the symptoms and conditions when the malfunction occurred based on the result of the customer problem analysis. Place the priority on confirming the symptoms.

  1. SYMPTOM AND CAUSE OF SYSTEM MALFUNCTION

    Tip:

    The following are descriptions of the characteristics of each system malfunction. After understanding the link between the causes and symptoms, perform the inspection of each component. Even if the problem symptom does not recur, signs of the malfunction may be found in the Data List.

    1. Ignition system

      Table 1. Spark plug

      Main cause of malfunction

      Performance degradation (wear, existence of foreign matter, etc.)

      Symptom

      Engine speed fluctuation due to abnormal combustion

      Data List

      Cylinder Misfire Count

      Tip:

      If the spark plug of the malfunctioning cylinder is abnormally wet with fuel, a leaking fuel injector assembly is suspected.

      Table 2. Ignition coil assembly

      Main cause of malfunction

      Internal malfunction

      Problem symptom

      Engine speed fluctuation due to abnormal combustion

      Data List

      Cylinder Misfire Count

    2. Fuel system

      Table 3. Fuel injector assembly

      Main cause of malfunction

      Blockage

      Problem symptom

      • Engine speed fluctuation due to abnormal combustion

      • Idle speed too low or high

      Data List

      • Short FT

      • Long FT

      • Fuel System Status

      • Target Air-Fuel Ratio

      • AF Lambda

      • A/F Learn Value Idle

      • A/F Learn Value Low

      • A/F Learn Value Mid1

      • A/F Learn Value Mid2

      • A/F Learn Value High

      • Total FT

      Tip:

      If the engine malfunction disappears when the fuel injection volume is increased or decreased using the Control the Injection Volume, the respective cylinder may be malfunctioning.

      Table 4. Fuel system
      Tip:

      If the air fuel ratio becomes lean only when the engine is running under a high load and at a high engine speed, clogging of the fuel pump or fuel filter is suspected.

      Table 5. Fuel quality

      Main cause of malfunction

      • Fuel degradation due to age or water contamination

      • Low fuel quality

      • Addition of fuel additive

      Problem symptom

      • Engine speed fluctuation due to abnormal combustion

      • Idle speed too low or high

      • Engine is difficult to start

    3. Intake and exhaust systems

      Table 6. Mass air flow meter sub-assembly

      Main cause of malfunction

      Performance degradation (existence of foreign matter, etc.)

      Problem symptom

      Lack of power

      Data List

      MAF

      Tip:

      If the value of the Data List item "MAF" is abnormal, a malfunction of the mass air flow meter sub-assembly is suspected.

      Table 7. Throttle system

      Main cause of malfunction

      Inappropriate trim volume adjustment due to accumulation of deposits

      Problem symptom

      • Engine speed fluctuation due to abnormal combustion

      • Idle speed too low or high

      Data List

      • ISC Learning Value

      • ISC Flow

      • ISC Feedback Value

      • Electric Load Feedback Val

      • Air Conditioner FB Val

      • Deposit Loss Flow

      Table 8. Air fuel ratio sensor, Heated oxygen sensor

      Main cause of malfunction

      Deviation in sensor characteristics

      Problem symptom

      Abnormal combustion due to deviation of actual air fuel ratio from calculated ratio

      Data List

      • AFS Voltage

      • O2S

      • Fuel System Status

    4. Engine

      Table 9. Engine assembly

      Main cause of malfunction

      • Compression loss

      • Accumulation of deposits

        (Combustion chamber, intake valve or intake manifold)

      Problem symptom

      • Engine speed fluctuation due to abnormal combustion

      • Idle speed too low or high

      • Hesitation during acceleration or stalling

      Tip:
      • If deposits have accumulated in the combustion chamber or on an intake valve, the engine may stall when deposits are caught on an intake valve.

      • When performing the Active Test "Check the Cylinder Compression", if the speed of one cylinder is higher than the others, the cylinder may have a compression loss.

      • If deposits accumulate on the intake valves, the supply of fuel may be delayed due to adherence of the fuel to the deposits, causing a rough idle.

  2. Data List Items Related to Rough Idling

    Tip:

    Depending on the vehicle model, the applicable Data List items may vary. Data List items other than the ones used in the diagnostic procedure are for reference only.

    • ISC Learning Value

    • ISC Flow

    • ISC Feedback Value

    • Electric Load Feedback Val

    • Air Conditioner FB Val

    • Eng Stall Control FB Flow

    • Deposit Loss Flow

    • Short FT

    • Long FT

    • Fuel System Status

    • Target Air-Fuel Ratio

    • AF Lambda

    • A/F Learn Value Idle

    • A/F Learn Value Low

    • A/F Learn Value Mid1

    • A/F Learn Value Mid2

    • A/F Learn Value High

    • Total FT

    • MAF

    • Cylinder Misfire Count

    • AFS Voltage

    • O2S

PROCEDURE

  1. INTERVIEW THE CUSTOMER

    1. Interview the customer for details about the conditions when the rough idle occurred.

      Tip:

      Depending on the conditions when the rough idle occurred, a malfunction in one of the following areas is suspected.

      Problem Symptom

      Suspected Area

      Hesitation or lack of power occurs during acceleration, regardless of whether engine is cold or warm

      • For low mileage vehicles (ODO reading of less than approximately 20000 km or yearly mileage of less than 2000 km): Fuel quality (degradation, water contamination, etc.)

      • For high mileage vehicles (ODO reading of more than approximately 150000 km): Excessively lean air fuel ratio during acceleration due to deposits in intake system or combustion chamber caught temporarily on intake or exhaust valve or adherence of fuel to the deposits

      • Abnormal mass air flow meter sub-assembly output due to existence of foreign matter

      • Decrease in fuel injector assembly injection volume due to low quality fuel

      Engine stalls or is difficult to start immediately after engine stalled, regardless of whether engine is cold or warm

      Deposits in intake system or combustion chamber caught temporarily on intake or exhaust valve

    Result

    Proceed to

    NEXT

    NEXT
  2. CHECK DTC OUTPUT

    1. Connect the GTS to the DLC3.

    2. Turn the power switch on (IG).

    3. Turn the GTS on.

    4. Perform a road test.

    5. Enter the following menus: Powertrain / Engine and ECT / Trouble Codes.

    6. Read the DTCs.

      Powertrain > Engine and ECT > Trouble Codes

    Result

    Result

    Proceed to

    DTCs are not output

    A

    DTC is output

    (DTCs other than P1604 or P1605 are output)

    B

    B

    GO TO DTC CHART

    A
  3. SYMPTOM CONFIRMATION

    1. Check if the problem symptoms reported in the customer problem analysis recur.

      Tip:

      If the problem symptoms do not recur, attempt to reproduce the conditions when the malfunction occurred based on the result of the customer problem analysis.

    Result

    Result

    Proceed to

    The problem symptom recurs

    A

    The problem symptom does not recur (occurred in the past)

    B

    B

    CHECK FOR INTERMITTENT PROBLEMS

    A
  4. READ VALUE USING GTS (ISC LEARNING VALUE)

    1. Connect the GTS to the DLC3.

    2. Turn the power switch on (IG).

    3. Turn the GTS on.

    4. Enter the following menus: Powertrain / Engine and ECT / Data List / All Data / ISC Learning Value.

      Powertrain > Engine and ECT > Data List

      Tester Display

      ISC Learning Value

    5. Read the value displayed on the GTS.

    Result

    Result

    Proceed to

    Less than 7.0 L/s

    A

    Other than above

    B

    B

    REMOVE FOREIGN OBJECT (CLEAN THROTTLE BODY)Click here

    A
  5. READ VALUE USING GTS (SHORT FT AND LONG FT)

    1. Connect the GTS to the DLC3.

    2. Turn the power switch on (IG).

    3. Turn the GTS on.

    4. Enter the following menus: Powertrain / Engine and ECT / Data List / All Data / Short FT and Long FT.

      Powertrain > Engine and ECT > Data List

      Tester Display

      Short FT #1

      Long FT #1

    5. Read the value displayed on the GTS.

      Result

      Data List

      Result

      Proceed to

      Short FT + Long FT

      -15% or higher, or less than 15%

      A

      Other than above

      B

      Tip:
      • "Total FT" is used to detect an abnormal air fuel ratio. As the value of "Total FT" is corrected by the ECM before it is displayed in the Data List, the displayed value may not be equal to the sum of the measured "Short FT" and "Long FT".

      • An abnormally lean or rich tendency can be checked by reading the following Data List items: A/F Learn Value Idle #1, A/F Learn Value Low #1, A/F Learn Value Mid1 #1, A/F Learn Value Mid2 #1 and A/F Learn Value High #1.

      • The following may cause a lean air fuel ratio (an operating range in which the air fuel ratio learned value correction is +15% or more):

        1. Decrease in fuel injector assembly injection volume

        2. Decrease in mass air flow meter sub-assembly output (due to existence of foreign matter)

        3. Air leaks in intake system after mass air flow meter sub-assembly

        4. Decrease in fuel pressure (at fuel filter, fuel pump or fuel pressure regulator assembly)

      • On vehicles which the learning value for each operating range can be checked, if the value of "A/F Learn Value High #1" only is corrected to the positive side, a malfunction in the fuel system (clogging of the fuel pump or fuel filter) is suspected.

      • On vehicles which the learning value for each operating range can be checked, if the value of "A/F Learn Value Idle #1" or "A/F Learn Value Low #1" only is corrected to the positive side, an air leak after the mass air flow meter sub-assembly is suspected.

      • The following may cause a rich air fuel ratio (an operating range in which the air fuel ratio learned value correction is -15% or less):

        1. Increase in the fuel injector assembly injection volume

        2. Purge VSV system

    B

    READ VALUE USING GTS (MAF)Click here

    A
  6. PERFORM ACTIVE TEST USING GTS (CONTROL THE CYLINDER FUEL CUT)

    1. Connect the GTS to the DLC3.

    2. Turn the power switch on (IG).

    3. Turn the GTS on.

    4. Put the engine in inspection mode (maintenance mode).

      Click here

      Powertrain > Hybrid Control > Utility

      Tester Display

      Inspection Mode

    5. Start the engine.

      Tip:

      Reproduce the vehicle conditions when the malfunction occurred. (such as after the engine is warmed up or after a cold start).

    6. Enter the following menus: Powertrain / Engine and ECT / Active Test / Control the Select Cylinder Fuel Cut / All Data / Engine Speed.

      Powertrain > Engine and ECT > Active Test

      Active Test Display

      Control the Select Cylinder Fuel Cut

      Data List Display

      Engine Speed

    7. According to the display on the GTS, perform the Active Test and check for a malfunctioning cylinder.

      Tip:
      • Perform fuel-cut for each cylinder and check the change in the engine speed.

      • If the engine speed of a cylinder does not change while performing the Active Test, it can be determined that the cylinder is malfunctioning.

      • If the engine speed of all cylinders change while performing the Active Test, it can be determined that multiple cylinders are malfunctioning.

      • A cylinder for which the Data List item "Cylinder Misfire Count" increases may be malfunctioning.

    Result

    Result

    Proceed to

    One cylinder is malfunctioning

    A

    Multiple or all cylinders are malfunctioning, or the malfunctioning cylinder cannot be determined.

    B

    B

    READ VALUE USING GTS (MAF)Click here

    A
  7. PERFORM ACTIVE TEST USING GTS (CHECK THE CYLINDER COMPRESSION)

    Tip:

    If the vehicle does not support the Active Test "Check the Cylinder Compression", measure the compression pressure. If the compression pressure is normal, go to step 8.

    1. Warm up the engine.

    2. Turn the power switch off.

    3. Connect the GTS to the DLC3.

    4. Turn the power switch on (IG).

    5. Turn the GTS on.

    6. Put the engine in inspection mode (maintenance mode).

      Click here

      Powertrain > Hybrid Control > Utility

      Tester Display

      Inspection Mode

    7. Enter the following menus: Powertrain / Engine and ECT / Active Test / Check the Cylinder Compression.

      Powertrain > Engine and ECT > Active Test

      Tester Display

      Check the Cylinder Compression

      Tip:

      To display the entire Data List, press the pull down menu button next to Primary. Then select Compression.

    8. While the engine is not running, press the RIGHT or LEFT button to change Check the Cylinder Compression to ON.

      Tip:

      After performing the above procedure, Check the Cylinder Compression will start. Fuel injection for all cylinders is prohibited and each cylinder engine speed measurement enters standby mode.

    9. Crank the engine for about 10 seconds.

    10. Monitor the engine speed (Engine Speed of Cyl and Av Engine Speed of All Cyl) displayed on the GTS.

      Tip:

      At first, the GTS displays extremely high cylinder engine speed values. After approximately 10 seconds of engine cranking, each cylinder engine speed measurement will change to the actual engine speed.

      Note:
      • Do not crank the engine continuously for 20 seconds or more.

      • If it is necessary to crank the engine again after Check the Cylinder Compression has been changed to ON and the engine has been cranked once, press Exit to return to the Active Test menu screen. Then change Check the Cylinder Compression to ON and crank the engine.

    11. Stop cranking the engine, and then change "Check the Cylinder Compression" to OFF after the engine stops.

      Note:
      • If the Active Test is changed to OFF while the engine is being cranked, the engine will start.

      • When performing the Active Test, DTC P1604 (Startability Malfunction) may be stored.

      • After performing the Active Test, make sure to check and clear DTCs.

    12. Read the value.

      Tip:
      • If the value of Data List item "Engine Speed of Cyl" of a cylinder is higher than other cylinders, the cylinder may be malfunctioning.

      • If the value of Data List item "Engine Speed of Cyl" is high for only one cylinder, compression loss is suspected.

    Result

    Result

    Proceed to

    There is no variation in "Engine Speed of Cyl"

    (All cylinders display approximately the same value for "Engine Speed of Cyl")

    A

    There is variation in "Engine Speed of Cyl"

    (Only one cylinder displays a value for "Engine Speed of Cyl" that differs considerably)

    B

    B

    CHECK CYLINDER COMPRESSION PRESSUREClick here

    A
  8. PERFORM ACTIVE TEST USING GTS (CONTROL THE INJECTION FOR A/F SENSOR)

    1. Connect the GTS to the DLC3.

    2. Turn the power switch on (IG).

    3. Turn the GTS on.

    4. Put the engine in inspection mode (maintenance mode).

      Click here

      Powertrain > Hybrid Control > Utility

      Tester Display

      Inspection Mode

    5. Start the engine and warm it up until the engine coolant temperature 75°C (167°F) or higher with all the accessories switched off.

    6. Idle the engine.

    7. Enter the following menus: Powertrain / Engine and ECT / Active Test / Control the Injection Volume for A/F Sensor.

      Powertrain > Engine and ECT > Active Test

      Tester Display

      Control the Injection Volume for A/F Sensor

    8. According to the display on the GTS, perform the Active Test and check the vehicle conditions when increasing and decreasing the fuel injection volume.

      Tip:

      Change the fuel injection volume between the minimum and maximum range of correction (e.g. -12.5% to 12.5%).

    Result

    Result

    Proceed to

    Malfunction is still present even if the fuel injection volume is changed

    A

    Malfunction disappears when the fuel injection volume is changed

    B

    B

    REPLACE FUEL INJECTOR ASSEMBLYClick here

    A
  9. CHECK IGNITION SYSTEM

    1. Check the ignition system.

      Click here

      Tip:
      • Interchange the ignition coil assembly and spark plug of the malfunctioning cylinder with those of a known good cylinder and check if the malfunctioning cylinder returns to normal.

      • If the spark plug of the malfunctioning cylinder is abnormally wet with fuel even after the ignition coil assembly and spark plug are replaced, a leaking fuel injector assembly is suspected.

    Result

    Result

    Proceed to

    The malfunctioning cylinder does not return to normal

    A

    The malfunctioning cylinder returned to normal

    B

    B

    REPAIR OR REPLACE MALFUNCTIONING PARTSClick here

    A
  10. INSPECT OTHER RELATED COMPONENTS

    1. Check the power source circuit, wire harness and connectors.

      Click here

    Result

    Proceed to

    NEXT

    NEXT

    REPAIR OR REPLACE MALFUNCTIONING PARTSClick here

  11. REPLACE FUEL INJECTOR ASSEMBLY

    1. Replace the fuel injector assembly of the malfunctioning cylinder.

      Click here

      Tip:
      • If the air fuel ratio learned value is corrected to the positive side for all operating ranges due to low fuel injector assembly injection volume, replace the fuel injector assemblies of all cylinders.

      • Perform "Inspection After Repair" after replacing the fuel injector assembly.

        Click here

      • When the symptom tends to improve by decreasing the fuel injection amount, blockage of the EGR port causes EGR distribution to worsen, EGR becomes excessive on the cylinders with little EGR port blockage, and this may lead to unsatisfactory firing.

    Result

    Proceed to

    NEXT

    NEXT

    CONDUCT CONFIRMATION TESTClick here

  12. CHECK CYLINDER COMPRESSION PRESSURE

    1. Measure the cylinder compression pressure. If the compression pressure of a cylinder is low, inspect the engine assembly and repair or replace parts as necessary.

      Click here

      Tip:

      Perform "Inspection After Repair" after repairing or replacing the engine mechanical system.

      Click here

    Result

    Proceed to

    NEXT

    NEXT

    CONDUCT CONFIRMATION TESTClick here

  13. READ VALUE USING GTS (MAF)

    1. Connect the GTS to the DLC3.

    2. Turn the power switch on (IG).

    3. Turn the GTS on.

    4. Put the engine in inspection mode (maintenance mode).

      Click here

      Powertrain > Hybrid Control > Utility

      Tester Display

      Inspection Mode

    5. Start the engine and warm it up until the engine coolant temperature 75°C (167°F) or higher with all the accessories switched off.

    6. Enter the following menus: Powertrain / Engine and ECT / Data List / MAF.

      Powertrain > Engine and ECT > Data List

      Tester Display

      MAF

    7. According to the display on the GTS, read the Data List when the power switch is turned on (IG) and while maintaining an engine speed of 2500 rpm.

    Result

    Result

    Proceed to

    Power switch on (IG) (engine stopped): 0.6 gm/sec or higher

    A

    Engine speed 2500 rpm (without load): Less than 5.0 gm/sec

    Other than above

    B

    B

    PERFORM ACTIVE TEST USING GTS (CONTROL THE INJECTION VOLUME FOR A/F SENSOR)Click here

    A
  14. CHECK INTAKE SYSTEM

    1. Check for air leaks or blockage in the intake system components. If a connection problem or foreign matter is found, repair the connection or remove the foreign matter.

      Tip:
      • If there is foreign matter in the intake system components, remove it before proceeding to the next step.

      • If there is no foreign matter in the intake system components, check for foreign matter in the mass air flow meter sub-assembly. If there is foreign matter in the mass air flow meter sub-assembly, remove it.

      • Perform "Inspection After Repair" after repairing or replacing the intake system.

        Click here

    Result

    Proceed to

    NEXT

    NEXT

    CONDUCT CONFIRMATION TESTClick here

  15. PERFORM ACTIVE TEST USING GTS (CONTROL THE INJECTION VOLUME FOR A/F SENSOR)

    1. Connect the GTS to the DLC3.

    2. Turn the power switch on (IG).

    3. Turn the GTS on.

    4. Put the engine in inspection mode (maintenance mode).

      Click here

      Powertrain > Hybrid Control > Utility

      Tester Display

      Inspection Mode

    5. Start the engine and warm it up until the engine coolant temperature 75°C (167°F) or higher with all the accessories switched off.

    6. Warm up the air fuel ratio sensor at an engine speed of 2500 rpm for 90 seconds.

    7. Idle the engine.

    8. Enter the following menus: Powertrain / Engine and ECT / Active Test / Control the Injection Volume for A/F Sensor / All Data / AFS Voltage B1S1 and O2S B1S2.

      Powertrain > Engine and ECT > Active Test

      Active Test Display

      Control the Injection Volume for A/F Sensor

      Data List Display

      AFS Voltage B1S1

      O2S B1S2

    9. According to the display on the GTS, perform the Active Test and check the vehicle conditions when increasing and decreasing the fuel injection volume.

      Note:
      • The air fuel ratio sensor has an output delay of a few seconds and the heated oxygen sensor has a maximum output delay of approximately 20 seconds.

      • Read the output voltage immediately after warming up the air fuel ratio sensor and heated oxygen sensor to avoid an inaccurate reading due to a sensor cooling.

      Tip:

      The Control the Injection Volume for A/F Sensor operation lowers the fuel injection volume by 12.5% or increases the injection volume by 12.5%.

      Result

      GTS Display

      (Sensor)

      Injection Volume

      Voltage

      AFS Voltage B1S1

      (Air fuel ratio)

      12.5%

      Below 3.1 V

      -12.5%

      Higher than 3.4 V

      O2S B1S2

      (Heated oxygen)

      12.5%

      Higher than 0.55 V

      -12.5%

      Below 0.4 V

    Result

    Result

    Proceed to

    Malfunction disappears when fuel injection volume is increased

    A

    Malfunction is still present when fuel injection volume is increased, even if output voltage values are normal

    B

    Output voltage values are abnormal

    C

    B

    INSPECT OTHER RELATED COMPONENTSClick here

    C

    REPLACE AIR FUEL RATIO SENSOR AND HEATED OXYGEN SENSORClick here

    A
  16. REPLACE FUEL INJECTOR ASSEMBLY

    1. Replace the fuel injector assemblies of all cylinders.

      Click here

      Tip:

      Perform "Inspection After Repair" after replacing the fuel injector assembly.

      Click here

    Result

    Proceed to

    NEXT

    NEXT

    CONDUCT CONFIRMATION TESTClick here

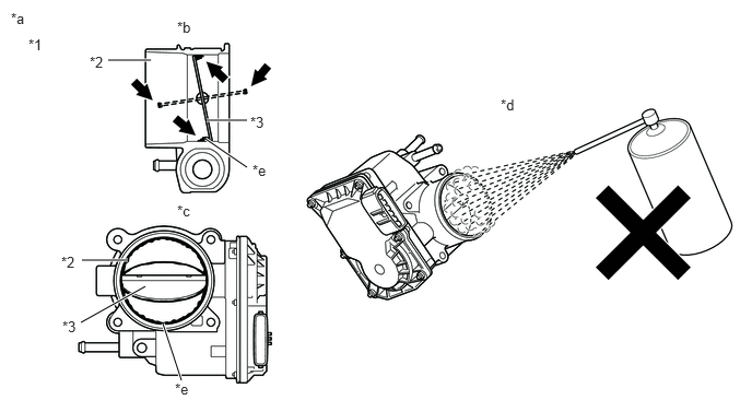
  17. REMOVE FOREIGN OBJECT (CLEAN THROTTLE BODY)

    1. Clean off any deposits from the inside of the throttle body with motor assembly.

    2. Push open the throttle valve and wipe off any carbon from the valve and bore using a piece of cloth soaked in non-residue solvent.

      A213929C01

      *1

      Throttle Body with Motor Assembly

      *2

      Bore

      *3

      Valve

      -

      -

      *a

      Reference

      *b

      Throttle Body Cross-section Diagram

      *c

      When valve fully opened

      *d

      Do not directly apply cleaner

      *e

      Deposits

      -

      -

    Note:
    • Make sure that the cloth or your fingers do not get caught in the valve.

    • Make sure that foreign matter does not enter the throttle valve.

    • Do not directly apply non-residue solvent to the throttle body with motor assembly or wash the throttle body with motor assembly. Cleaning solvent may leak into the motor from the shaft and cause problems such as rust or valve movement problems.

    • If there is coating material on the edge of the valve, be careful not to remove it.

    Tip:

    The illustrations are for reference only. Actual parts may differ.

    Result

    Proceed to

    NEXT

    NEXT
  18. PERFORM CONFIRMATION DRIVING PATTERN

    1. Perform "Inspection After Repair" after cleaning the throttle body with motor assembly.

      Click here

    2. Connect the GTS to the DLC3.

    3. Turn the power switch on (IG).

    4. Turn the GTS on.

    5. Put the engine in inspection mode (maintenance mode).

      Click here

      Powertrain > Hybrid Control > Utility

      Tester Display

      Inspection Mode

    6. Start the engine and warm it up until the engine coolant temperature reaches 75°C (167°F) or higher.

    7. Allow the engine to idle for 3 minutes or more and confirm that the engine speed is within the specified range.

      Tip:

      If the engine is operated without performing learning value reset and idle learning after cleaning the deposits from the throttle body assembly, the idle speed may increase.

    Result

    Proceed to

    NEXT

    NEXT

    CONDUCT CONFIRMATION TESTClick here

  19. INSPECT OTHER RELATED COMPONENTS

    1. Inspect other related components.

      Tip:

      If the malfunctioning part could not be determined by performing the preceding inspections, one of the following malfunctions is suspected.

      • Engine mount deterioration

      • Deposits in the intake manifold or on an intake valve

      • Delay in fuel supply due to adherence of the fuel to the deposits

    Result

    Proceed to

    NEXT

    NEXT
  20. REPAIR OR REPLACE MALFUNCTIONING PARTS

    1. Repair or replace the malfunctioning part.

    2. Perform "Inspection After Repair" after repairing or replacing the malfunctioning part.

      Click here

    Result

    Proceed to

    NEXT

    NEXT

    CONDUCT CONFIRMATION TESTClick here

  21. REPLACE AIR FUEL RATIO SENSOR AND HEATED OXYGEN SENSOR

    1. Replace the air fuel ratio sensor.

      Click here

      Tip:

      Perform "Inspection After Repair" after replacing the air fuel ratio sensor.

      Click here

    2. Replace the heated oxygen sensor.

      Click here

    Result

    Proceed to

    NEXT

    NEXT
  22. CONDUCT CONFIRMATION TEST

    1. Check that the idle has returned to normal.

    Result

    Proceed to

    NEXT

    NEXT

    END