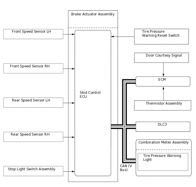
TIRE PRESSURE WARNING SYSTEM GENERAL SYSTEM DIAGRAM

X119009E01