CAN COMMUNICATION SYSTEM(for RHD) Check Bus 2 Lines for Short Circuit

DTC Code DTC Name
Check Bus 2 Lines for Short Circuit

DESCRIPTION

There may be a short circuit between the bus 2 CAN main wires and/or CAN branch wires when the resistance between terminals 18 (CA4H) and 17 (CA4L) of the central gateway ECU is below 54 Ω.

Detection Item

Trouble Area

Resistance between terminals 18 (CA4H) and 17 (CA4L) of central gateway ECU is below 54 Ω.

  • Short in bus 2 CAN main wires

  • Short in bus 2 CAN branch wires

  • ECM

  • Combination meter assembly

  • Central gateway ECU

  • Power steering ECU assembly

  • Air conditioning amplifier assembly

  • Airbag sensor assembly

  • Spiral with sensor cable sub-assembly (steering angle sensor)

  • Certification ECU (smart key ECU assembly)

  • Hybrid vehicle control ECU

  • Brake booster with master cylinder assembly (skid control ECU)

  • Main body ECU (multiplex network body ECU)

  • No. 6 CAN junction connector

  • No. 7 CAN junction connector

WIRING DIAGRAM

C348003E01
C334609E04

CAUTION / NOTICE / HINT

Note:
  • Because the order of diagnosis is important to allow correct diagnosis, make sure to begin troubleshooting using How to Proceed with Troubleshooting when CAN communication system related DTCs are output.

    Click here

  • Before measuring the resistance of the CAN bus, turn the power switch off and leave the vehicle for 1 minute or more without operating the key, switches or opening or closing the doors. After that, disconnect the cable from the negative (-) auxiliary battery terminal and leave the vehicle for 1 minute or more before measuring the resistance.

  • After turning the power switch off, waiting time may be required before disconnecting the cable from the auxiliary battery terminal. Therefore, make sure to read the disconnecting the cable from the auxiliary battery terminal notice before proceeding with work.

    Click hereClick hereClick hereClick here

  • After the repair, perform CAN Bus Check and check that all the ECUs and sensors connected to the CAN communication system are displayed.

    Click hereClick hereClick here

Tip:
  • Operating the power switch, any switches or any doors triggers related ECU and sensor communication with the CAN, which causes resistance variation.

  • Even after DTCs are cleared, if a DTC is stored again after driving the vehicle for a while, the malfunction may be occurring due to vibration of the vehicle. In such a case, wiggling the ECUs or wire harness while performing the inspection below may help determine the cause of the malfunction.

PROCEDURE

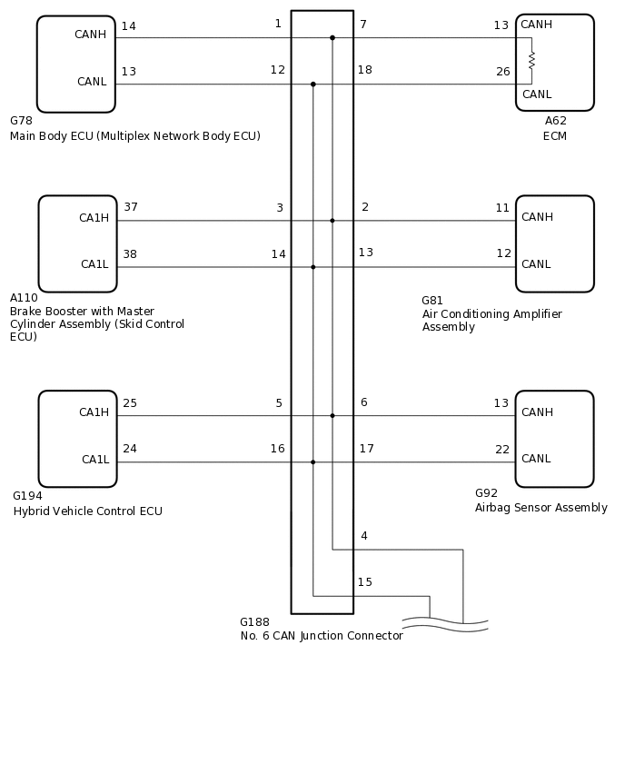
  1. CHECK FOR SHORT IN CAN BUS WIRES (NO. 6 CAN JUNCTION CONNECTOR)

    1. Disconnect the cable from the negative (-) auxiliary battery terminal.

      C235392C42

      *a

      Rear view of wire harness connector

      (to No. 6 CAN Junction Connector)

      *b

      to Main Body ECU (Multiplex Network Body ECU)

      *c

      to Air Conditioning Amplifier Assembly

      *d

      to Brake Booster with Master Cylinder Assembly (Skid Control ECU)

      *e

      to No. 7 CAN Junction Connector

      *f

      to Hybrid Vehicle Control ECU

      *g

      to Airbag Sensor Assembly

      *h

      to ECM

    2. Disconnect the No. 6 CAN junction connector.

    3. Measure the resistance according to the value(s) in the table below.

      Standard Resistance

      Tester Connection

      Condition

      Specified Condition

      Connect to

      G188-1 (CANH) - G188-12 (CANL)

      Cable disconnected from negative (-) auxiliary battery terminal

      200 Ω or higher

      Main body ECU (multiplex network body ECU)

      G188-2 (CANH) - G188-13 (CANL)

      Cable disconnected from negative (-) auxiliary battery terminal

      200 Ω or higher

      Air conditioning amplifier assembly

      G188-3 (CANH) - G188-14 (CANL)

      Cable disconnected from negative (-) auxiliary battery terminal

      200 Ω or higher

      Brake booster with master cylinder assembly (skid control ECU)

      G188-4 (CANH) - G188-15 (CANL)

      Cable disconnected from negative (-) auxiliary battery terminal

      108 to 132 Ω

      No. 7 CAN junction connector

      G188-5 (CANH) - G188-16 (CANL)

      Cable disconnected from negative (-) auxiliary battery terminal

      200 Ω or higher

      Hybrid vehicle control ECU

      G188-6 (CANH) - G188-17 (CANL)

      Cable disconnected from negative (-) auxiliary battery terminal

      200 Ω or higher

      Airbag sensor assembly

      G188-7 (CANH) - G188-18 (CANL)

      Cable disconnected from negative (-) auxiliary battery terminal

      108 to 132 Ω

      ECM

    Result

    Result

    Result

    Proceed to

    OK

    A

    NG (No. 7 CAN junction connector CAN main wire)

    B

    NG (ECM CAN main wire)

    C

    NG (ECU or sensor CAN branch wires)

    D

    A

    REPLACE NO. 6 CAN JUNCTION CONNECTOR

    C

    CONNECT CONNECTORClick here

    D

    CHECK FOR SHORT IN CAN BUS WIRES (ECU, SENSOR)Click here

    B
  2. CONNECT CONNECTOR

    1. Reconnect the G188 No. 6 CAN junction connector.

    Result

    Proceed to

    NEXT

    NEXT
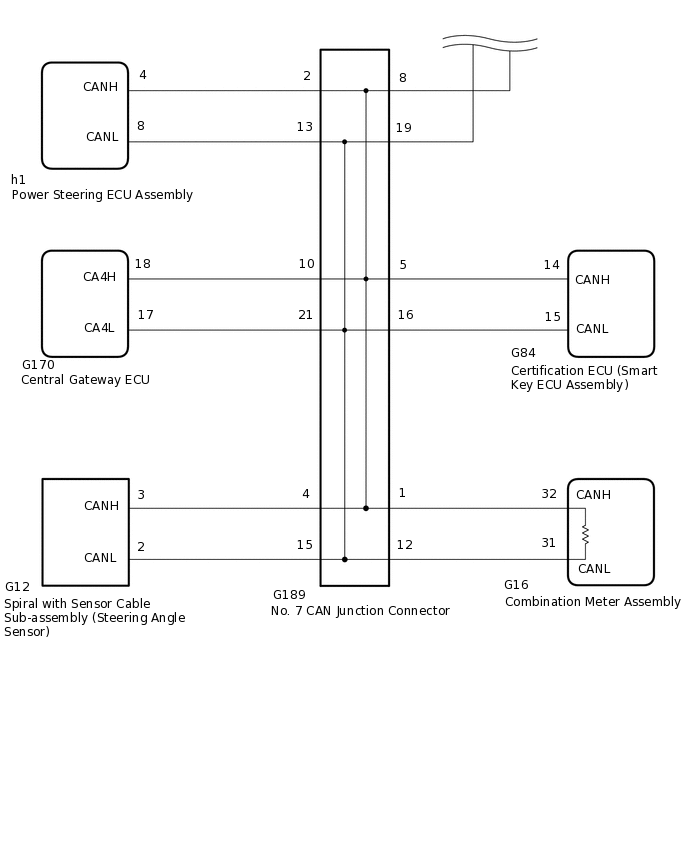
  3. CHECK FOR SHORT IN CAN BUS WIRES (NO. 7 CAN JUNCTION CONNECTOR)

    1. Disconnect the No. 7 CAN junction connector.

      C235392C50

      *a

      Rear view of wire harness connector

      (to No. 7 CAN Junction Connector)

      *b

      for Combination Meter Assembly

      *c

      for Power Steering ECU Assembly

      *d

      for Spiral with Sensor Cable Sub-assembly (Steering Angle Sensor)

      *e

      for Certification ECU (Smart Key ECU Assembly)

      *f

      for No. 6 CAN Junction Connector

      *g

      for Central Gateway ECU

      -

      -

    2. Measure the resistance according to the value(s) in the table below.

      Standard Resistance

      Tester Connection

      Condition

      Specified Condition

      Connect to

      G189-1 (CANH) - G189-12 (CANL)

      Cable disconnected from negative (-) auxiliary battery terminal

      108 to 132 Ω

      Combination meter assembly

      G189-2 (CANH) - G189-13 (CANL)

      Cable disconnected from negative (-) auxiliary battery terminal

      200 Ω or higher

      Power steering ECU assembly

      G189-4 (CANH) - G189-15 (CANL)

      Cable disconnected from negative (-) auxiliary battery terminal

      200 Ω or higher

      Spiral with sensor cable sub-assembly (steering angle sensor)

      G189-5 (CANH) - G189-16 (CANL)

      Cable disconnected from negative (-) auxiliary battery terminal

      200 Ω or higher

      Certification ECU (smart key ECU assembly)

      G189-8 (CANH) - G189-19 (CANL)

      Cable disconnected from negative (-) auxiliary battery terminal

      108 to 132 Ω

      No. 6 CAN junction connector

      G189-10 (CANH) - G189-21 (CANL)

      Cable disconnected from negative (-) auxiliary battery terminal

      200 Ω or higher

      Central gateway ECU

    Result

    Result

    Result

    Proceed to

    OK

    A

    NG (No. 6 CAN junction connector CAN main wire)

    B

    NG (Combination meter assembly CAN main wire)

    C

    NG (Central gateway ECU CAN branch wire)

    D

    NG (ECU or sensor CAN branch wires)

    E

    A

    REPLACE NO. 7 CAN JUNCTION CONNECTOR

    B

    REPAIR OR REPLACE CAN MAIN WIRE OR CONNECTOR (NO. 7 CAN JUNCTION CONNECTOR - NO. 6 CAN JUNCTION CONNECTOR)

    D

    CONNECT CONNECTORClick here

    E

    CHECK FOR SHORT IN CAN BUS WIRES (ECU, SENSOR)Click here

    C
  4. CONNECT CONNECTOR

    1. Reconnect the G189 No. 7 CAN junction connector.

    Result

    Proceed to

    NEXT

    NEXT
  5. CHECK FOR SHORT IN CAN BUS WIRES (COMBINATION METER ASSEMBLY)

    1. C221258C08

      *a

      Rear view of wire harness connector

      (to Combination Meter Assembly)

      Disconnect the combination meter assembly connector.

    2. Measure the resistance according to the value(s) in the table below.

      Standard Resistance

      Tester Connection

      Condition

      Specified Condition

      G16-32 (CANH) - G16-31 (CANL)

      Cable disconnected from negative (-) auxiliary battery terminal

      108 to 132 Ω

    Result

    Proceed to

    OK

    NG

    OK

    REPLACE COMBINATION METER ASSEMBLY

    NG

    REPAIR OR REPLACE CAN MAIN WIRE OR CONNECTOR (COMBINATION METER ASSEMBLY - NO. 7 CAN JUNCTION CONNECTOR)

  6. CONNECT CONNECTOR

    1. Reconnect the G189 No. 7 CAN junction connector.

    Result

    Proceed to

    NEXT

    NEXT
  7. CHECK FOR SHORT IN CAN BUS WIRES (CENTRAL GATEWAY ECU)

    1. C326490C34

      *a

      Front view of wire harness connector

      (to Central Gateway ECU)

      Disconnect the central gateway ECU connector.

    2. Measure the resistance according to the value(s) in the table below.

      Standard Resistance

      Tester Connection

      Condition

      Specified Condition

      G170-18 (CA4H) - G170-17 (CA4L)

      Cable disconnected from negative (-) auxiliary battery terminal

      54 to 69 Ω

    Result

    Proceed to

    OK

    NG

    OK

    REPLACE CENTRAL GATEWAY ECU

    NG

    REPAIR OR REPLACE CAN BRANCH WIRE OR CONNECTOR (CENTRAL GATEWAY ECU - NO. 7 CAN JUNCTION CONNECTOR)

  8. CHECK FOR SHORT IN CAN BUS WIRES (ECU, SENSOR)

    1. C347299C01

      *a

      Component with harness connected

      (Central Gateway ECU)

      Reconnect the CAN junction connector.

    2. Disconnect the connector that includes terminals CANH and CANL from the ECU or sensor to which the short circuited CAN branch wire is connected.

    3. Measure the resistance according to the value(s) in the table below.

      Standard Resistance

      Tester Connection

      Condition

      Specified Condition

      G170-18 (CA4H) - G170-17 (CA4L)

      Cable disconnected from negative (-) auxiliary battery terminal

      54 to 69 Ω

      Tip:

      If the resistance becomes normal (between 54 and 69 Ω) when the connector is disconnected from the ECU or sensor, there may be a short in the ECU or sensor.

    Result

    Proceed to

    OK

    NG

    OK

    REPLACE CORRESPONDING ECU OR SENSOR

    NG

    REPAIR OR REPLACE CORRESPONDING ECU OR SENSOR CAN BRANCH WIRES OR CONNECTOR

  9. CONNECT CONNECTOR

    1. Reconnect the G188 No. 6 CAN junction connector.

    Result

    Proceed to

    NEXT

    NEXT
  10. CHECK FOR SHORT IN CAN BUS WIRES (ECM)

    1. C228681C07

      *a

      Front view of wire harness connector

      (to ECM)

      Disconnect the ECM connector.

    2. Measure the resistance according to the value(s) in the table below.

      Standard Resistance

      Tester Connection

      Condition

      Specified Condition

      A62-13 (CANH) - A62-26 (CANL)

      Cable disconnected from negative (-) auxiliary battery terminal

      108 to 132 Ω

    Result

    Proceed to

    OK

    NG

    OK

    REPLACE ECM

    NG

    REPAIR OR REPLACE CAN MAIN WIRE OR CONNECTOR (ECM - NO. 6 CAN JUNCTION CONNECTOR)