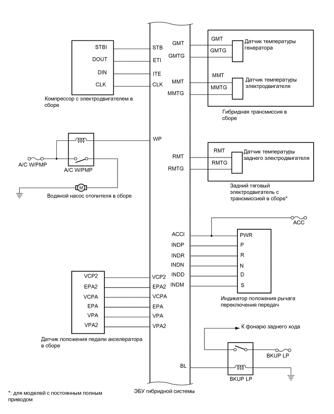
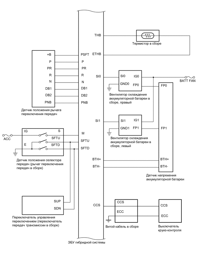
СИСТЕМА УПРАВЛЕНИЯ ГИБРИДНОЙ СИСТЕМОЙ СХЕМА СИСТЕМЫ

C310830E02
C304584E05
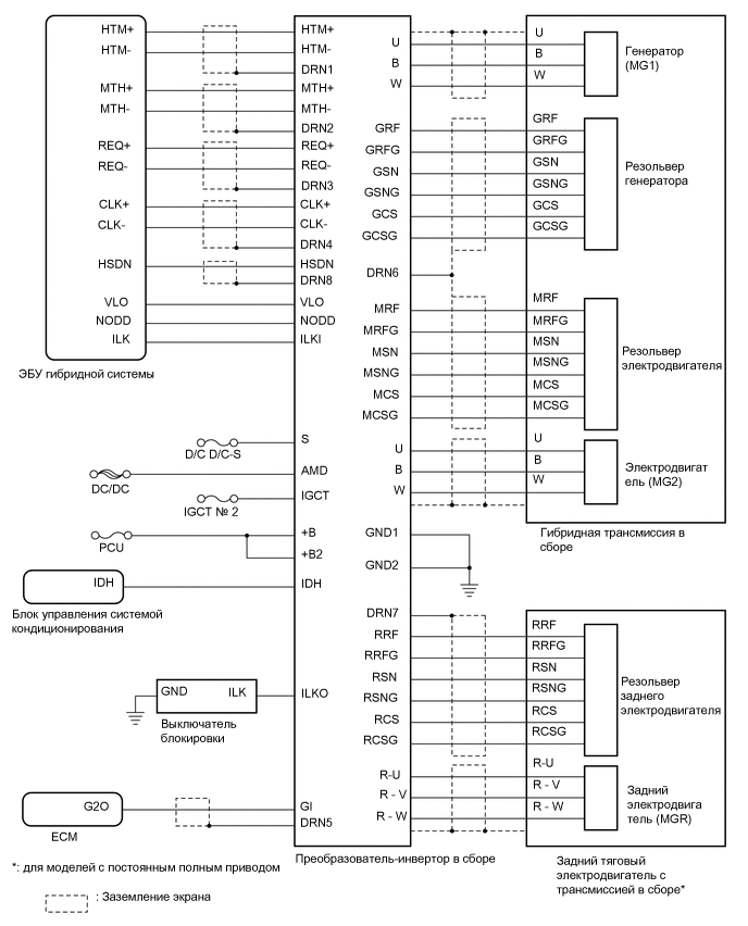
C312759E01
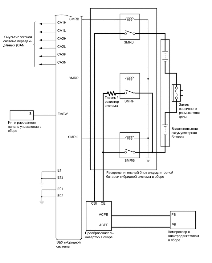
C310831E01
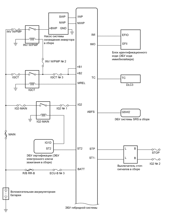
C297323E03