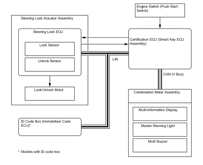
STEERING LOCK SYSTEM

B0020DAE01