FRONT SHOCK ABSORBER INSTALLATION

CAUTION / NOTICE / HINT

Tip:
  • Use the same procedure for the RH and LH sides.

  • The procedure listed below is for the LH side.

PROCEDURE

  1. INSTALL FRONT LOWER COIL SPRING INSULATOR LH

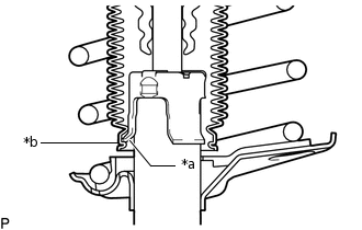
    1. C188480C06

      *a

      Positioning Pin

      *b

      Depression

      Install the front lower coil spring insulator LH to the front shock absorber assembly.

      Note:

      When installing the insulator, fit the insulator into the depression of the spring seat and insert the positioning pin into the hole.

  2. INSTALL FRONT SPRING BUMPER LH

    1. C269442

      Install the front spring bumper LH to the front shock absorber assembly.

      Note:

      Position the end of the front spring bumper with the smaller diameter downward.

  3. INSTALL FRONT COIL SPRING LH

    1. C287918N04

      For SST with stopper pins:

      1. Secure SST in a vise.

        09727-30022

        09727-00010

        09727-00022

        09727-00031

      2. C302414C01

        *a

        Correct

        *b

        Incorrect

        *c

        Parallel

        *d

        Not Parallel

        Attach the hooks of each SST arm across the diameter of the coil spring.

        CAUTION:
        • Make sure that the hooks of the upper and lower arms are attached to the coil spring so that the distance between the hooks is as large as possible.

        • Make sure that the arms of SST are parallel and attached to the coil spring, and the number of coil springs between the hooks on each side is the same.

        • Check that the claws of the hooks are securely attached to the coil spring.

      3. C302415C01

        *a

        Correct

        *b

        Incorrect

        *c

        Stopper Pin

        Install the stopper pins to the hooks of SST.

        CAUTION:

        Make sure that the stopper pins are installed securely.

      4. Using SST, compress the coil spring.

        CAUTION:
        • If the coil spring bends while using SST, stop immediately and reattach SST correctly.

        • Do not compress the coil spring to the point where the coils touch each other.

        • Do not use an impact wrench.

        • C288510N07

          If a stopper pin touches the coil spring while using SST, remove the stopper pin and continue with the procedure. In this case, installing the coil spring stopper belt as shown in the illustration is recommended.

        09727-00110

    2. For SST without stopper pins:

      1. C288500N06

        Secure SST in a vise.

        09727-30021

        09727-00010

        09727-00021

        09727-00031

      2. C302414C01

        *a

        Correct

        *b

        Incorrect

        *c

        Parallel

        *d

        Not Parallel

        Attach the hooks of each SST arm across the diameter of the coil spring.

        CAUTION:
        • Make sure that the hooks of the upper and lower arms are attached to the coil spring so that the distance between the hooks is as large as possible.

        • Make sure that the arms of SST are parallel and attached to the coil spring, and the number of coil springs between the hooks on each side is the same.

        • Check that the claws of the hooks are securely attached to the coil spring.

      3. Using SST, compress the coil spring.

        CAUTION:
        • If the coil spring bends while using SST, stop immediately and reattach SST correctly.

        • Do not compress the coil spring to the point where the coils touch each other.

        • Do not use an impact wrench.

        C294116N05
        Tip:

        Installing SST as shown in the illustration is recommended.

        09727-00110

    3. C311683C03

      *a

      Depression

      Install the front coil spring to the front shock absorber assembly.

      Note:

      Make sure to fit the end of the front coil spring that has the larger diameter into the depression of the front lower coil spring insulator LH.

  4. INSTALL FRONT SPRING SEAT SUB-ASSEMBLY LH WITH INSULATOR

    1. C312365C03

      *a

      Claws of the Front Shock Absorber Assembly LH

      *b

      End of the Insulator of the Front Spring Seat Sub-assembly LH with Insulator

      Connect the end of the insulator of the front spring seat sub-assembly LH with insulator with the claws of the front shock absorber assembly LH.

      Note:
      • Make sure that the end of the insulator is securely attached to the claws of the front shock absorber assembly LH.

      • Make sure there is no excessive damage to the bellows of the insulator.

      • Do not allow oil, grease, etc., to contact the insulator.

      • If oil or grease has adhered, wipe clean with a cloth. Do not use an alcoholic cleaner.

  5. INSTALL STRUT MOUNTING BEARING LH

  6. INSTALL FRONT SUSPENSION SUPPORT SUB-ASSEMBLY LH

    1. Install the front suspension support sub-assembly LH to the front shock absorber assembly LH.

  7. INSTALL COLLAR

    1. Install the collar to the front shock absorber assembly LH.

  8. TEMPORARILY INSTALL FRONT SUPPORT TO FRONT SHOCK ABSORBER NUT

    1. Temporarily install a new front support to front shock absorber nut.

    2. Remove SST from the front coil spring.

      Note:

      Do not use an impact wrench. It will damage SST.

  9. INSTALL FRONT SUSPENSION SUPPORT PLATE LH

    1. Install the front suspension support plate to the front shock absorber with coil spring.

  10. INSTALL FRONT SHOCK ABSORBER WITH COIL SPRING

    1. Install the front shock absorber with coil spring (upper side) and cowl body mounting reinforcement LH with the 3 nuts.

      50 N*m

      510 kgf*cm

      37 ft.*lbf

    2. Connect the front shock absorber with coil spring (lower side) to the steering knuckle with the 2 bolts and 2 nuts.

      240 N*m

      2447 kgf*cm

      177 ft.*lbf

      Tip:

      The bolts can be installed in either direction, however, make sure that they are both installed in the same direction.

    3. Tighten the front support to front shock absorber nut.

      47 N*m

      479 kgf*cm

      35 ft.*lbf

  11. CONNECT FRONT FLEXIBLE HOSE

  12. CONNECT FRONT SPEED SENSOR LH

    1. Connect the front flexible hose and front speed sensor LH with the bolt.

      29 N*m

      296 kgf*cm

      21 ft.*lbf

      Note:

      Do not twist the front speed sensor when installing it.

      Tip:

      Install the front flexible hose and wire harness bracket of the front speed sensor in that order.

  13. CONNECT FRONT STABILIZER LINK ASSEMBLY LH

    1. C149537

      Connect the front stabilizer link assembly LH to the front shock absorber with coil spring with the nut.

      74 N*m

      755 kgf*cm

      55 ft.*lbf

      Tip:

      If the ball joint turns together with the nut, use a 6 mm hexagon wrench to hold the stud bolt.

  14. INSTALL FRONT SUSPENSION SUPPORT DUST COVER LH

    1. Install the front suspension support dust cover LH.

  15. INSTALL OUTER COWL TOP PANEL SUB-ASSEMBLY

  16. INSTALL FRONT WHEEL

  17. INSPECT AND ADJUST FRONT WHEEL ALIGNMENT