КОРПУС КЛАПАНОВ В СБОРЕ ПРОВЕРКА

ПОРЯДОК ВЫПОЛНЕНИЯ

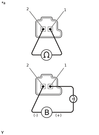
  1. ПРОВЕРЬТЕ ЭЛЕКТРОМАГНИТНЫЕ КЛАПАНЫ ПЕРЕКЛЮЧЕНИЯ ПЕРЕДАЧ SL1 И SL2

    1. C197715E67

      Измерьте сопротивление в соответствии со значениями, приведенными в таблице ниже.

      Table 1. Обозначения на рисунке

      *a

      Устройство с неподсоединенным жгутом проводов

      (Электромагнитные клапаны переключения передач SL1 и SL2)

      Номинальное сопротивление

      Подключение диагностического прибора

      Условие

      Заданные условия

      1 - 2

      20 °C (68 °F)

      5,0-5,6 Ом

    2. Подсоедините положительный (+) вывод с лампой 21 Вт к контакту 1, а отрицательный (-) вывод - к контакту 2 разъема электромагнитного клапана переключения передач, а затем проверьте ход клапана.

      OK

      Слышен звук срабатывания электромагнитного клапана.

      Если результат не отвечает требованиям, замените электромагнитный клапан переключения передач.

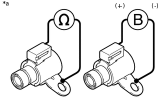
  2. ПРОВЕРЬТЕ ЭЛЕКТРОМАГНИТНЫЙ КЛАПАН ПЕРЕКЛЮЧЕНИЯ ПЕРЕДАЧ SL1

    1. C257580E01

      Измерьте сопротивление в соответствии со значениями, приведенными в таблице ниже.

      Table 2. Обозначения на рисунке

      *a

      Устройство с неподсоединенным жгутом проводов

      (электромагнитный клапан переключения передач S1)

      Номинальное сопротивление

      Подключение диагностического прибора

      Условие

      Заданные условия

      Контакт разъема электромагнитного клапана переключения передач S1 - корпус электромагнитного клапана переключения передач S1

      20°C (68°F)

      11-15 Ом

    2. Подсоедините положительный (+) вывод к контакту разъема электромагнитного клапана переключения передач S1, а отрицательный (-) вывод – к корпусу электромагнитного клапана переключения передач S1.

      OK

      Слышен звук срабатывания электромагнитного клапана.

      Если результат не отвечает требованиям, замените электромагнитный клапан переключения передач S1.

  3. ПРОВЕРЬТЕ ЭЛЕКТРОМАГНИТНЫЙ КЛАПАН ПЕРЕКЛЮЧЕНИЯ ПЕРЕДАЧ SL2

    1. C208650E02

      Измерьте сопротивление в соответствии со значениями, приведенными в таблице ниже.

      Table 3. Обозначения на рисунке

      *a

      Устройство с неподсоединенным жгутом проводов

      (электромагнитный клапан переключения передач S2)

      Номинальное сопротивление

      Подключение диагностического прибора

      Условие

      Заданные условия

      Контакт разъема электромагнитного клапана переключения передач S2 - корпус электромагнитного клапана переключения передач S2

      20°C (68°F)

      11-15 Ом

    2. Подсоедините положительный (+) вывод к контакту разъема электромагнитного клапана переключения передач S2, а отрицательный (-) вывод – к корпусу электромагнитного клапана переключения передач S2.

      OK

      Слышен звук срабатывания электромагнитного клапана.

      Если результат не отвечает требованиям, замените электромагнитный клапан переключения передач S2.

  4. ПРОВЕРЬТЕ ЭЛЕКТРОМАГНИТНЫЙ КЛАПАН ПЕРЕКЛЮЧЕНИЯ ПЕРЕДАЧ SL3

    1. C209925E02

      Измерьте сопротивление в соответствии со значениями, приведенными в таблице ниже.

      Table 4. Обозначения на рисунке

      *a

      Устройство с отсоединенным жгутом проводов

      (электромагнитный клапан переключения передач S3)

      Номинальное сопротивление

      Подключение диагностического прибора

      Условие

      Заданные условия

      Контакт разъема электромагнитного клапана переключения передач S3 - корпус электромагнитного клапана переключения передач S3

      20°C (68°F)

      11-15 Ом

    2. Подсоедините положительный (+) вывод к контакту разъема электромагнитного клапана переключения передач S3, а отрицательный (-) вывод – к корпусу электромагнитного клапана переключения передач S3.

      OK

      Слышен звук срабатывания электромагнитного клапана.

      Если результат не отвечает требованиям, замените электромагнитный клапан переключения передач S3.

  5. ПРОВЕРЬТЕ ЭЛЕКТРОМАГНИТНЫЙ КЛАПАН ПЕРЕКЛЮЧЕНИЯ ПЕРЕДАЧ S4

    1. C257581E01

      Измерьте сопротивление в соответствии со значениями, приведенными в таблице ниже.

      Table 5. Обозначения на рисунке

      *a

      Устройство с неподсоединенным жгутом проводов

      (электромагнитный клапан переключения передач S4)

      Номинальное сопротивление

      Подключение диагностического прибора

      Условие

      Заданные условия

      Контакт разъема электромагнитного клапана переключения передач S4 - корпус электромагнитного клапана переключения передач S4

      20°C (68°F)

      11-15 Ом

    2. Подсоедините положительный (+) вывод к контакту разъема электромагнитного клапана переключения передач S4, а отрицательный (-) вывод – к корпусу электромагнитного клапана переключения передач S4.

      OK

      Слышен звук срабатывания электромагнитного клапана.

      Если результат не отвечает требованиям, замените электромагнитный клапан переключения передач S4.

  6. ПРОВЕРЬТЕ ЭЛЕКТРОМАГНИТНЫЙ КЛАПАН ПЕРЕКЛЮЧЕНИЯ ПЕРЕДАЧ SR

    1. C209929E08

      Измерьте сопротивление в соответствии со значениями, приведенными в таблице ниже.

      Table 6. Обозначения на рисунке

      *a

      Устройство с отсоединенным жгутом проводов

      (электромагнитный клапан переключения передач SR)

      Номинальное сопротивление

      Подключение диагностического прибора

      Условие

      Номинальное сопротивление

      Контакт разъема электромагнитного клапана переключения передач SR - корпус электромагнитного клапана переключения передач SR

      20°C (68°F)

      11-15 Ом

    2. Подсоедините положительный (+) вывод к контакту разъема электромагнитного клапана переключения передач SR, а отрицательный (-) вывод – к корпусу электромагнитного клапана переключения передач SR.

      OK

      Слышен звук срабатывания электромагнитного клапана.

      Если результат не отвечает требованиям, замените электромагнитный клапан переключения передач SR.

  7. ПРОВЕРЬТЕ ЭЛЕКТРОМАГНИТНЫЙ КЛАПАН ПЕРЕКЛЮЧЕНИЯ ПЕРЕДАЧ SLT

    1. C209928E34

      Измерьте сопротивление в соответствии со значениями, приведенными в таблице ниже.

      Table 7. Обозначения на рисунке

      *a

      Устройство с неподсоединенным жгутом проводов

      (электромагнитный клапан переключения передач SLT)

      Номинальное сопротивление

      Подключение диагностического прибора

      Условие

      Заданные условия

      1 - 2

      20 °C (68 °F)

      5,0-5,6 Ом

    2. Подсоедините положительный (+) вывод с лампой 21 Вт к контакту 2, а отрицательный (-) вывод - к контакту 1 разъема SLT электромагнитного клапана переключения передач, а затем проверьте ход клапана.

      OK

      Слышен звук срабатывания электромагнитного клапана.

      Если значение не соответствует указанному, замените электромагнитный клапан переключения передач SLT.

  8. ПРОВЕРЬТЕ ЭЛЕКТРОМАГНИТНЫЙ КЛАПАН ПЕРЕКЛЮЧЕНИЯ ПЕРЕДАЧ SLU

    1. C209928E35

      Измерьте сопротивление в соответствии со значениями, приведенными в таблице ниже.

      Table 8. Обозначения на рисунке

      *a

      Устройство с неподсоединенным жгутом проводов

      (электромагнитный клапан переключения передач SLU)

      Номинальное сопротивление

      Подключение диагностического прибора

      Условие

      Заданные условия

      1 - 2

      20 °C (68 °F)

      5,0-5,6 Ом

    2. Подсоедините положительный (+) вывод с лампой 21 Вт к контакту 2, а отрицательный (-) вывод - к контакту 1 разъема SLU электромагнитного клапана переключения передач, а затем проверьте ход клапана.

      OK

      Слышен звук срабатывания электромагнитного клапана.

      Если результат не отвечает требованиям, замените электромагнитный клапан переключения передач SLU.