BLIND SPOT MONITOR SYSTEM SYSTEM DESCRIPTION

  1. GENERAL

    1. The blind spot monitor system has the blind spot monitor function and RCTA function (w/ RCTA function).

      1. Blind spot monitor function

        • The blind spot monitor system is a function that assists the driver in making the decision to change lanes. The function uses quasi-millimeter wave radar to detect vehicles that are traveling in an adjacent lane in the area that is not reflected in the outer rear view mirror assembly. The function advises the driver of the existence of a vehicle by illuminating the outer rear view mirror indicator on the outer rear view mirror assembly.

        • If the turn signal switch is operated while the outer rear view mirror indicator on an outer rear view mirror assembly is illuminated, the indicator starts blinking to give additional warning to the driver.

      2. RCTA function

        • The RCTA function is a function that informs the driver of an approaching vehicle from diagonally behind. The function uses quasi-millimeter wave radar to detect the positions of and relative speed to a vehicle. When the function determines that a vehicle is approaching this vehicle, this function informs the driver of it using the indicators and buzzer.

  2. FUNCTION OF COMPONENTS

    • *: w/ RCTA Function

    Component

    Function

    Blind Spot Monitor Sensor

    • Consists of a 24 GHz radar module and an integrated processing module.

    • Illuminates or blinks the outer rear view mirror indicator on the outer rear view mirror assembly.

    • Changes the outer rear view mirror indicator on the outer rear view mirror assembly from illuminated to blinking when a turn signal switch operation signal is received from the combination meter assembly with the blind spot monitor function operating.

    • Sends the signal to the outer rear view mirror indicator on the outer rear view mirror assembly.

    • Dims the outer rear view mirror indicator on the outer rear view mirror assembly.

    • Sounds the rear cross traffic alert buzzer (blind spot monitor buzzer) when the RCTA function is operating (w/ RCTA Function).

    Outer Rear View Mirror Assembly

    • Outer Rear View Mirror (Outer Rear View Mirror Indicator)

    Turns on or blinks the indicator based on a signal from the blind spot monitor sensor.

    Blind Spot Monitor Main Switch (Steering Pad Switch Assembly)

    • Turns the blind spot monitor system on or off.

    • Informs the state of the blind spot monitor system by illuminating the blind spot monitor indicator.

    RCTA Buzzer (Blind Spot Monitor Buzzer)*

    Sounds based on a signal from the blind spot monitor sensor.

    Combination Meter Assembly

    • Multi-information Display

    • Sends a turn signal switch operation signal from the headlight dimmer switch assembly to the blind spot monitor sensor via CAN communication.

    • Displays an error message on the multi-information display if the blind spot monitor detects a malfunction while it is operating.

    Main Body ECU (Multiplex Network Body ECU)

    Sends the destination information and the dimmer signal to the blind spot monitor sensor via CAN communication.

    Brake Booster with Master Cylinder Assembly

    • Skid Control ECU

    Transmits a vehicle speed signal to the blind spot monitor sensor via CAN communication.

    ECM

    Sends a shift position signal (R) to the blind spot monitor sensor via CAN communication.

    Spiral with Sensor Cable Sub-assembly

    Detects the angle of the steering wheel and sends the resulting signals to the blind spot monitor sensor via CAN communication.

  3. OPERATION DESCRIPTION

    1. Operation description of the blind spot monitor system

      1. Operation conditions

        • The blind spot monitor system is on.

        • Vehicle speed is more than approximately 16 km/h (10 mph).

      2. Conditions in which a sensor can detect a vehicle

        The blind spot monitor system indicates detection of a vehicle in the detection area when either condition is met:

        • When a vehicle is detected in an adjacent lane overtaking this vehicle.

        • When a vehicle is detected entering the detection area because it changed lanes.

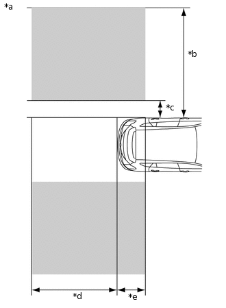
      3. E274261C02

        *a

        Vehicles in the following areas can be detected

        *b

        Within approximately 3.5 m (11.49 ft.) from the side of the vehicle

        *c

        Within approximately 0.5 m (1.64 ft.) from the side of the vehicle

        *d

        Within approximately 3 m (9.85 ft.) behind the rear bumper

        *e

        Within approximately 1 m (3.29 ft.) forward of the rear bumper

        Detection area

        Vehicles in the following areas can be detected:

    2. Operation description of the RCTA function (w/ RCTA Function).

      1. Operation conditions:

        • The blind spot monitor system is on.

        • The shift lever is in R.

        • The vehicle speed is less than approximately 8 km/h (5 mph).

      2. Conditions in which a sensor can detect a vehicle

        The RCTA function indicates detection of a vehicle in the detection area when both conditions are met:

        • A vehicle is approaching this vehicle from diagonally behind.

        • The vehicle speed is approximately 8 km/h (5 mph) to 28 km/h (18 mph).

      3. E274262C01

        *a

        Vehicles in the following areas can be detected

        *b

        Within approximately 5.5 to 20 m (18.04 to 65.62 ft.) from the side of the vehicle (detection area changes according to vehicle speed)

        Detection area

  4. OPERATION OF OUTER REAR VIEW MIRROR INDICATOR AND REAR CROSS TRAFFIC ALERT BUZZER (BLIND SPOT MONITOR BUZZER)

    1. Initial check

      1. When the blind spot monitor system is turned on with the power switch on (IG), the outer rear view mirror indicator on each outer rear view mirror assembly illuminates for 3 seconds.

      2. When the blind spot monitor system is turned on with the power switch on (IG), the outer rear view mirror indicator on each outer rear view mirror assembly illuminates for 3 seconds and the rear cross traffic alert buzzer (blind spot monitor buzzer) sounds for 1 second.

      3. When the power switch is turned from off to on (IG) with the blind spot monitor system on, the outer rear view mirror indicator on each outer rear view mirror assembly illuminates for 3 seconds.

    2. Operation for the blind spot monitor function

      E270861E01
      1. Operation for blind spot monitor function

        • When a sensor detects a vehicle in the blind spot area, the outer rear view mirror indicator on the outer rear view mirror assembly illuminates.

        • While the sensor is detecting a vehicle in the detection area and the indicator is illuminated, if the turn signal switch is operated, the outer rear view mirror indicator on the outer rear view mirror assembly starts blinking as shown in the illustration.

      2. Operation for RCTA function (w/ RCTA Function)

        • When all of the operation conditions for the RCTA function are met, the outer rear view mirror indicators on the outer rear view mirror assembly blink for 2.5 seconds and the rear cross traffic alert buzzer (blind spot monitor buzzer) sounds for 2.3 seconds as shown in the illustration.

          E290801E01